ATS625LSG(ALLEGRO)代理商 提供技术参数 PDF
Update:2009-04-09 Views:6642
规格书下载:
【产品名称】 ATS625LSG
【产品类别】 霍尔传感器
【产品用途】 霍尔效应齿轮齿传感器
【产品规格】 4-lead module
【生产厂家】 ALLEGRO
【技术参数】 ATS625LSG 下载 DATESHEET
ATS625LSG
霍尔效应齿轮齿传感器
功能及优点
- 在工作温度范围以内较高的可重复性
- 在工作温度范围以内严格的计时精确度
- 真零点速度操作
- 气隙–独立开关点
- 抗振动
- 较大的工作气隙
- 已定义通电状态
- 较宽的工作电压范围
- 表示目标配置文件的数字输出
- 可实现高可靠性的单芯片感测 IC
- 较小的机械尺寸
- 已优化霍尔 IC 磁系
- 快速启动
- AGC 和参考调整电路
- 欠压锁定
描述
ATS625 真零点速度齿轮齿传感器是封装于模压模块中的已优化霍尔 IC 及磁铁配置,可为数字齿轮齿感测应用提供制造商友好型解决方案。 该传感器总成包括一个超模压封装,可将钐钴磁铁、极片集中器以及专为磁路所优化的真零点速度霍尔 IC 放到一起。 该小型封装可便于组装并与各种形状及尺寸的齿轮一同使用。
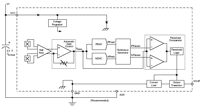
传感器结合了双元件霍尔 IC,该 IC 可响应亚铁目标产生的差分磁性信号而进行开关操作。 模拟信号的数字处理可提供独立于气隙的真零点速度性能,并可就汽车应用中常见的操作条件(降低的振动灵敏度)对器件性能提供动态适应。 高分辨率峰值侦测 DAC 用于设置器件的自适应开关阈值。 开关点滞后可降低磁性信号中任何异常的消极效果,这些信号与用于许多汽车应用的目标相关联。 该传感器系统已得到优化,适合曲柄应用,该利用具有信号区域的目标。
ATS625 采用 4 引脚塑料单列直插式封装 (SIP)。 无铅产品(根据特殊请求提供)具有 100% 雾锡电镀引脚框。
功能方框图

完整型号
| 型号 | 封装类型 | RoHS | 温度 |
| 符合性 | |||
| ATS625LSGTN | 4-铅 module | 否 | -40 °C 至 150 °C |
| ATS625LSGTN-T | 4-铅 module | 是 | -40 °C 至 150 °C |
Pre:4N25 集成光耦器 参数资料 2026-02-05
Next:供应 SMD全系列 电子元件 2026-02-05

Collect
Navigate:







