SLA7052M 原装进口现货热卖 提供技术参数 PDF 产品热线:0755-83283733
技术参数下载:
【产品名称】 SLA7052M
【产品类别】 电机驱动
【产品用途】 单极电动机马达驱动IC
【产品规格】 TO-220/TO-263
【生产厂家】 ALLEGRO(SANKEN)
【技术参数】 SLA7052M 规格书下载 DATESHEET
SLA7052M
Unipolar Stepper-Motor Translator/PWM Driver
Features
- 3 A Output Rating
- Internal Sequencer for Full or Half-Step Operation
- PWM Constant-Current Motor Drive
- Cost-Effective, Multi-Chip Solution
- 100 V, Avalanche-Rated NMOS
- Low rDS(on) NMOS Outputs (150 milli-ohms typical)
- Advanced, Improved Body Diodes
- Half-Step and Full-Step Unipolar Drive
- Inputs Compatible with 3.3 V or 5 V Control Signals
- Sleep Mode
- Internal Clamp Diodes
Description
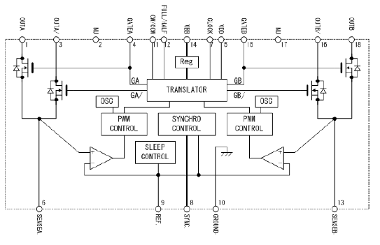
Combining low-power CMOS logic with high-current, high-voltage power FET outputs, the SLA7052M translator/driver provides complete control and drive for a two-phase unipolar stepper motor with internal fixed off time, pulse-width modulation (PWM) control of the output current in a power multi-chip module (PMCMT).
The CMOS logic section provides the sequencing logic, direction, full/half-step control, synchronous/asynchronous PWM operation, and a "sleep" function. The minimum CLOCK input is an ideal fit for applications where a complex µP is unavailable or overburdened. TTL or LSTTL may require the use of appropriate pull-up resistors to ensure a proper input-logic high. For PWM current control, the maximum output current is determined by the user's selection of a reference voltage and sensing resistor. The NMOS outputs are capable of sinking up to 3 A and withstanding 46 V in the off state. Ground-clamp and flyback diodes provide protection against inductive transients. Special power-up sequencing is not required.
Full-step (2 phase) and half-step operation are externally selectable. Two-phase drive energizes two adjacent phases in each detent position (AB-BC-CD-DA). This sequence mode offers an improved torquespeed product, greater detent torque, and is less susceptable to motor resonance. Half-step excitation alternates between the one-phase and two-phase modes (A-AB-B-BC-C-CD D-DA), providing an eight-step sequence.
Functional Block Diagram

Part Number
Package Type
RoHS
Temperature
Compliant
SLA7052MLF871
18-lead ZIP
Yes
-20 °C to 85 °C
SLA7052MLF872
18-lead ZIP
Yes
-20 °C to 85 °C
Pre:MCP6002-I/SN (MICROCHIP)单片机 现货供应 提供技术资料 PDF文档 2025-12-09
Next:保险丝 RAYCHEM RXEF040 下载 PDF文档 2025-12-09

Collect
Navigate:







