A3933 直流无刷电机驱动 (无位置传感器专用)
A3933 批号 05+
A3933 数量 ALLEGRO原装正品 大量现货
A3933 封装 PLCC
A3933 备注 原装正品,无铅现货
A3933 PDF技术资料
A3933[1].pdf
询价热线:
0755-83283733, 83031813,33062500
QQ:623069669
MSN:sumzi003@sumzi.com sumzi006@sumzi.com
Email:sumzi@sumzi.com
http://www.sumzi.com
A3933
三相功率 MOSFET 控制器
特点
- 可驱动外部 N 通道 FET
- 智能高端门极驱动器
- 断电情况下可选择自由停机或动态制动
- 可调节无感时间,实现交叉传导保护
- 可选择快慢电流衰减模式
- 内部 PWM 峰值电流控制
- 复位/自由停机输入
- 120° 使用内部上拉电路进行霍尔整流
- 内置 5 伏特稳压器
- 低端同步整流
- 方向控制
- PWM 速度控制输入
- 故障诊断输出
- 欠压保护
描述
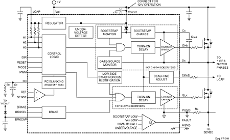
A3933SEQ 是一款与双极无刷直流电动机一起使用的三相位 MOSFET 控制器。 它能驱动所有 N 通道外部电源 FET,从而节省系统成本,并将 r(DS)on 功率损失降到最低。 高端驱动块在每个输出都配有自举电容器,提供用于门极驱动器的浮动正极电流。 高端电路还采用了独特的"智能"FET 监控电路,确保门电压在开启前以及 ON 循环当中处于正确等级。 该器件适用于那些电动机电源为 12 到 28 伏特的应用情况。
内部固定停机时间 PWM 电流控制电路可用来将最大载荷电流调节为需要的数值。 用户'通过选择输入参考电压和外部感应电阻可设置峰值载荷电流限制。 用户通过选择外部 RC 计时网络可设置固定停机时间脉冲持续时间。
功率损失制动电路可在欠压的情况下制动电动机。 该器件可在发生这种情况时配置为自由停机或动态制动电动机。
功能方框图

|
Part Number |
Package Type |
RoHS |
Temperature |
|
Compliant | |||
|
A3933SEQ |
32-lead PLCC |
No |
|
|
A3933SEQTR |
32-lead PLCC |
No |
|
Pre:SLA7078 (SANKEN) 步进电机驱动系列 原装现货 2026-02-04
Next:线性型 UGN3503UA 专业供应 ALLEGRO 0755-61329532 陈小姐 2026-02-04

Collect
Navigate:






