ACS756 电流传感器 可订货 0755-33062500
Update:2009-03-06 Views:5461
ACS756
带3 kVRMS 电压绝缘及低电阻电流导体的全集成、基于霍尔效应的线性电流传感器
功能及优点
- 通过专利放大器和滤波器设计工艺实现行业领先的噪音性能
- 总输出误差为 .8%(当 TA = 25°C时)
- 小型封装尺寸,安装简便
- 高可靠性的单片霍尔 IC
- 超低功率损耗:130 µΩ 内部传导电阻
- 3 kVRMS 最低绝缘电压(1-3号引脚与4-5号引脚之间)
- 3.0 至 5.0 V, 单电源操作
- 3 µs 输出上升时间,对应步进输入电流
- 20 或 40 mV/A 输出灵敏度
- 输出电压与交流或直流电流成比例
- 出厂时精确度校准
- 极稳定的输出偏置电压
- 近零的磁滞
描述
Allegro ACS756电流传感器系列为工业、汽车、商业和通信系统的交流或直流电流感应提供经济实惠和精确的解决方案。该器件的封装便于客户轻松实施。典型应用包括电动机控制、载荷检测和管理、电源和过流保护。
该器件由一个精确的、低偏移的线性霍尔传感器电路组成,且其铜制的电流路径靠近晶片。通过该铜制电流路径施加的电流能够生成可被集成霍尔 IC 感应并转化为成比例电压的磁场。通过将磁性信号靠近霍尔传感器,实现器件精确度优化。精确的、成比例电压由稳定斩波型低偏置 BiCMOS 霍尔 IC 提供,该 IC 出厂时已进行精确度编程。
当通过用作电流感测通路之主要铜传导通路(从端子 4 到端子 5)的电流不断上升时,器件的输出具有正斜率 (>VCC / 2) 。该传导通路的内电阻通常是 130 µΩ,具有较低的功率损耗。
铜线的尺寸允许器件在高达 5× 的过电流条件下运行。传导通路的接线端与传感器引脚(引脚 1 到 3)电气绝缘。这让 ACS756 传感器系列可用于那些要求电气绝缘却未使用光电绝缘器或其它昂贵绝缘技术的应用。
器件在出厂装运前已完全校准。ACS75x 系列是无铅产品。所有的引脚均镀以 100% 雾锡,封装内无任何铅存在。大量规引脚框是由无氧铜制造。
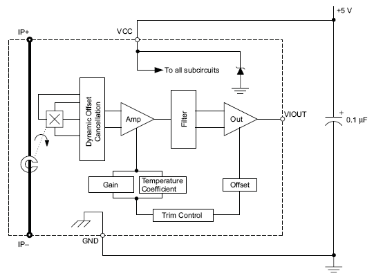
功能方框图
Pre:供应 Raychem 自复式元件保险丝 2025-11-25
Next:ACS712 电流传感器 2025-11-25

Collect
Navigate:






