霍尔元件及其应用(四)
|
— 应用文章 —
|
|
霍尔元件及其应用(四)
3.2.8 霍尔齿轮传感器 用2.2.2.3中介绍的差动霍尔电路制成的霍尔齿轮传感器,如图22所示,新一代的霍尔齿轮转速传感器,广泛用于新一代的汽车智能发动机,作为点火定时用的速度传感器,用于ABS(汽车防抱死制动系统)作为车速传感器等。 在ABS中,速度传感器是十分重要的部件。ABS的工作原理示意图如图23所示。图中,1是车速齿轮传感器;2是压力调节器;3是控制器。在制动过程中,控制器3不断接收来自车速齿轮传感器1和车轮转速相对应的脉冲信号并进行处理,得到车辆的滑移率和减速信号,按其控制逻辑及时准确地向制动压力调节器2发出指令,调节器及时准确地作出响应,使制动气室执行充气、保持或放气指令,调节制动器的制动压力,以防止车轮抱死,达到抗侧滑、甩尾,提高制动安全及制动过程中的可驾驭性。在这个系统中,霍尔传感器作为车轮转速传感器,是制动过程中的实时速度采集器,是ABS中的关键部件之一。 在汽车的新一代智能发动机中,用霍尔齿轮传感器来检测曲轴位置和活塞在汽缸中的运动速度,以提供更准确的点火时间,其作用是别的速度传感器难以代替的,它具有如下许多新的优点。 (1)相位精度高,可满足0.4°曲轴角的要求,不需采用相位补偿。 (2)可满足0.05度曲轴角的熄火检测要求。 (3)输出为矩形波,幅度与车辆转速无关。在电子控制单元中作进一步的传感器信号调整时,会降低成本。 用齿轮传感器,除可检测转速外,还可测出角度、角速度、流量、流速、旋转方向等等。
图22 霍尔速度传感器的内部结构
1.车轮速度传感器2.压力调节器3.电子控制器 图23 ABS气制动系统的工作原理示意图 3.2.9 旋转传感器 按图24所示的各种方法设置磁体,将它们和霍尔开关电路组合起来可以构成各种旋转传感器。霍尔电路通电后,磁体每经过霍尔电路一次,便输出一个电压脉冲。
(a)径向磁极(b)轴向磁极(c)遮断式 图24 旋转传感器磁体设置 由此,可对转动物体实施转数、转速、角度、角速度等物理量的检测。在转轴上固定一个叶轮和磁体,用流体(气体、液体)去推动叶轮转动,便可构成流速、流量传感器。在车轮转轴上装上磁体,在靠近磁体的位置上装上霍尔开关电路,可制成车速表,里程表等等,这些应用的实例如图25所示。 图25的壳体内装有一个带磁体的叶轮,磁体旁装有霍尔开关电路,被测流体从管道一端通入,推动叶轮带动与之相连的磁体转动,经过霍尔器件时,电路输出脉冲电压,由脉冲的数目,可以得到流体的流速。若知管道的内径,可由流速和管径求得流量。霍尔电路由电缆35来供电和输出。
图25 霍尔流量计 由图26可见,经过简单的信号转换,便可得到数字显示的车速。 利用锁定型霍尔电路,不仅可检测转速,还可辨别旋转方向,如图27所示。 曲线1对应结构图(a),曲线2对应结构图(b),曲线3对应结构图(c)。
图26 霍尔车速表的框图
图27 利用霍尔开关锁定器进行方向和转速测定 3.2.10 霍尔位移传感器 若令霍尔元件的工作电流保持不变,而使其在一个均匀梯度磁场中移动,它输出的霍尔电压VH值只由它在该磁场中的位移量Z来决定。图28示出3种产生梯度磁场的磁系统及其与霍尔器件组成的位移传感器的输出特性曲线,将它们固定在被测系统上,可构成霍尔微位移传感器。从曲线可见,结构(b)在Z<2mm时,VH与Z有良好的线性关系,且分辨力可达1μm,结构(C)的灵敏度高,但工作距离较小。
图28 几种产生梯度磁场的磁系统和几种霍尔位移传感器的静态特性
用霍尔元件测量位移的优点很多:惯性小、频响快、工作可靠、寿命长。 以微位移检测为基础,可以构成压力、应力、应变、机械振动、加速度、重量、称重等霍尔传感器。 3.2.10.1 霍尔压力传感器 霍尔压力传感器由弹性元件,磁系统和霍尔元件等部分组成,如图29所示。在图29中,(a)的弹性元件为膜盒,(b)为弹簧片,(c)为波纹管。磁系统最好用能构成均匀梯度磁场的复合系统,如图29中的(a)、(b),也可采用单一磁体,如(c)。加上压力后,使磁系统和霍尔元件间产生相对位移,改变作用到霍尔元件上的磁场,从而改变它的输出电压VH。由事先校准的p~f(VH)曲线即可得到被测压力p的值。
图29 几种霍尔压力传感器的构成原理 3.2.10.2 霍尔应力检测装置 图30示出用来进行土壤和砂子与钢界面上的法向和切向应力检测的霍尔传感器装置。(a)检测向切应力,(b)检测压应力。箭头所指是施加的外力方向。在图30(a)中,仪器上用钢作成上下两个块子,它们之间有两条较细的梁支撑,在钢下块上置一销柱,销上贴两对永磁体,形成均匀梯度磁场,在上块上贴两个霍尔传感器,受剪切力作用后,支撑梁发生形变,使霍尔传感器和磁场间发生位移,使传感器输出发生变化。由霍尔传感器的输出可从事先校准的曲线上查得与该装置相接的砂或土受到的剪切应力。
图30 霍尔应力检测装 置 图30(b)的磁体固定在受力后产生形变的膜片上,霍尔传感器固定在一杆上。检测原理同上。应用检测压应力的原理,可构成检测重量的装置,称作霍尔称重传感器。 3.2.10.3 霍尔加速度传感器 图31示出霍尔加速度传感器的结构原理和静态特性曲线。在盒体的O点上固定均质弹簧片S,片S的中部U处装一惯性块M,片S的末端b处固定测量位移的霍尔元件H,H的上下方装上一对永磁体,它们同极性相对安装。盒体固定在被测对象上,当它们与被测对象一起作垂直向上的加速运动时,惯性块在惯性力的作用下使霍尔元件H产生一个相对盒体的位移,产生霍尔电压VH的变化。可从VH与加速度的关系曲线上求得加速度。
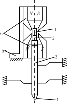
图31 霍尔加速度传感器的结构及其静态特性 3.2.10.4 霍尔振动传感器 图32所示为一种霍尔机械振动传感器。图中,1为霍尔元件,固定在非磁性材料的平板2上,平板2紧固在顶杆3上,顶杆3通过触点4与被测对象接触,随之做机械振动。元件1置于磁系统6中。当触头4靠在被测物体上时,经顶杆3,平板2使霍尔元件在磁场中按被测物的振动频率振动,霍尔元件输出的霍尔电压的频率和幅度反映了被测物的振动规律。 应当说明,在现代电子装置中,上述应力、压力、加速度、振动等传感器所得数据,都可经微机进行处理后直接显示出被测量数据或将被测量数据供各种控制系统使用。
图32 霍尔机械振动传感器结构原理(待续) |
Pre:霍尔元件及其应用(三) 2026-03-15
Next:霍尔元件及其应用(五) 2026-03-15

Collect
Navigate:








