ACS758 功能及优点
ACS758
带 100 µΩ电流导体的增强散热功能、全集成、基于霍尔效应的线性电流传感器
功能及优点
- 通过专利放大器和滤波器设计工艺实现行业领先的噪音性能
- 集成屏蔽可大幅减少因 dV/dt 信号导致电流导体至晶片的电容耦合,并可防止高端、高电压应用中的偏置漂移。
- 通过过温增益和偏置修正实现总输出误差减少
- 小型封装尺寸,安装简便
- 高可靠性的单片霍尔 IC
- 超低功率损耗:100 µΩ 内部传导电阻
- 绝缘设计可实现高电压系统中经济实惠的高端电流感测
- 3.0 至 5.5 V, 单电源操作
- 120 kHz 典型带宽
- 3 µs 输出上升时间,对应步进输入电流
- 输出电压与交流或直流电流成比例
- 出厂时精确度校准
- 极稳定的输出偏置电压
- 近零的磁滞
描述
Allegro® ACS758 电流传感器系列可为交流或直流电流感测提供经济实惠的精密解决方案。典型应用包括电动机控制、载荷检测和管理、电源和直流至直流转换器控制、逆变器控制和过电流故障检测。
该器件由一个精确、低偏移的线性霍尔传感器电路组成,且其铜制的电流路径靠近晶片。通过该铜制电流路径施加的电流能够生成可被集成霍尔 IC 感应并转化为成比例电压的磁场。通过将磁性信号靠近霍尔传感器,实现器件精确度优化。精确的、成比例输出电压由稳定斩波型低偏置 BiCMOS 霍尔 IC 提供,该 IC 出厂时已进行精确度编程。
Allegro 独有的集成屏幕技术提供的对电流导体 dV/dt 信号和杂散电场的高耐受力,确保高端、高电压应用中的低输出电压纹波和低偏置漂移。
当通过用作电流感测通路之主要铜传导通路(从端子 4 到端子 5)的电流不断上升时,器件的输出具有正斜率 (>VCC/2) 。该传导通路的内电阻通常是 100 µΩ,具有较低的功率损耗。
铜线的厚度允许器件在高过电流条件下运行。传导通路的接线端与传感器引脚(引脚 1 到 3)电气绝缘。这样,ACS758 传感器系列可用于那些要求电气绝缘却未使用光电绝缘器或其它昂贵绝缘技术的应用。
器件在出厂装运前已完全校准。ACS758 系列是无铅产品。所有的引脚均镀以 100% 雾锡,封装内无任何铅存在。大量规引脚框是以无氧铜制造。
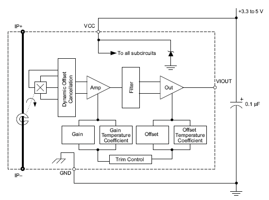
功能方框图
询价热线:
0755-83283733, 83031813,33062500
QQ:623069669
MSN:sumzi003@sumzi.com sumzi006@sumzi.com
Email:sumzi@sumzi.com
http://www.sumzi.com
Pre:A04E,A1104开关型霍尔的工作原理,使用说明(附PDF) 2025-12-09
Next:LSI推出Tarari“即插即用型” 内容与安全处理器电路板 2025-12-09

Collect
Navigate:






