A1106EUA 中英文资料
A3141, A3142, A3143, A3144
datasheet.pdf
Sensitive Hall-Effect Switches, High-Temperature
The A3141, A3142, A3143, and A3144 have been phased out of production as of October 31, 2005, and has been replaced by the A1101, A1102, A1103, and A1104 next-generation continuous-time unipolar switches.
For samples and information on the replacement part, please refer to the A110x family.
Replacement Device Characteristics Table
| Device | A110x Characteristics | ||||||
|---|---|---|---|---|---|---|---|
| BOP | BRP | Hys | |||||
| Legacy | Replacement | Min | Max | Min | Max | Min | Max |
| A3141 | A1101 | 30 | 175 | 10 | 145 | 20 | 80 |
| A3142 | A1102 | 115 | 245 | 60 | 190 | 30 | 80 |
| A3143 | A1103 | 205 | 355 | 150 | 300 | 30 | 80 |
| A3144 | A1104 | 35 | 450 | 25 | 430 | 20 | - |
| A3121 | A1106 | 260 | 430 | 160 | 330 | 70 | 140 |
Features
- Superior Temp. Stability for Automotive or Industrial Applications
- 4.5 V to 24 V Operation ... Needs Only An Unregulated Supply
- Open-Collector 25 mA Output ... Compatible with Digital Logic
- Reverse Battery Protection
- Activate with Small, Commercially Available Permanent Magnets
- Solid-State Reliability
- Small Size
- Resistant to Physical Stress
Description
These Hall-effect switches are monolithic integrated circuits with tighter magnetic specifications, designed to operate continuously over extended temperatures to +150°C, and are more stable with both temperature and supply voltage changes. The unipolar switching characteristic makes these devices ideal for use with a simple bar or rod magnet. The four basic devices (3141, 3142, 3143, and 3144) are identical except for magnetic switch points.
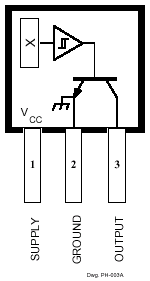
Each device includes a voltage regulator for operation with supply voltages of 4.5 to 24 volts, reverse-battery protection diode, quadratic Hall-voltage generator, temperature compensation circuitry, small- signal amplifier, Schmitt trigger, and an open-collector output to sink up to 25 mA. With suitable output pull up, they can be used with bipolar or CMOS logic circuits. The A3141- and A3142- are improved replacements for the UGN/UGS3140-; the A3144- is the improved replacement for the UGN/UGS3120-.
Functional Block Diagram
Complete Part Numbers
| Part Number | Package Type | Temperature | Comments |
| A3141ELT | 3-lead SOT | -40 °C to 85 °C | discontinued |
| A3141ELTTR | 3-lead SOT | -40 °C to 85 °C | discontinued |
| A3141EUA | 3-pin SIP | -40 °C to 85 °C | discontinued |
| A3141LLT | 3-lead SOT | -40 °C to 150 °C | discontinued |
| A3141LLTTR | 3-lead SOT | -40 °C to 150 °C | discontinued |
| A3141LUA | 3-pin SIP | -40 °C to 150 °C | discontinued |
| A3142ELT | 3-lead SOT | -40 °C to 85 °C | discontinued |
| A3142ELTTR | 3-lead SOT | -40 °C to 85 °C | discontinued |
| A3142EUA | 3-pin SIP | -40 °C to 85 °C | discontinued |
| A3142LLT | 3-lead SOT | -40 °C to 150 °C | discontinued |
| A3142LLTTR | 3-lead SOT | -40 °C to 150 °C | discontinued |
| A3142LUA | 3-pin SIP | -40 °C to 150 °C | discontinued |
| A3143ELT | 3-lead SOT | -40 °C to 85 °C | discontinued |
| A3143ELTTR | 3-lead SOT | -40 °C to 85 °C | discontinued |
| A3143EUA | 3-pin SIP | -40 °C to 85 °C | discontinued |
| A3143LLT | 3-lead SOT | -40 °C to 150 °C | discontinued |
| A3143LLTTR | 3-lead SOT | -40 °C to 150 °C | discontinued |
| A3143LUA | 3-pin SIP | -40 °C to 150 °C | discontinued |
| A3144ELT | 3-lead SOT | -40 °C to 85 °C | discontinued |
| A3144ELTTR | 3-lead SOT | -40 °C to 85 °C | discontinued |
| A3144EUA | 3-pin SIP | -40 °C to 85 °C | discontinued |
| A3144LLT | 3-lead SOT | -40 °C to 150 °C | discontinued |
| A3144LLTTR | 3-lead SOT | -40 °C to 150 °C | discontinued |
| A3144LUA | 3-pin SIP | -40 °C to 150 °C | discontinued |
中文资料:
功能及优点
- 连续工作
- 快速上电
- 低噪音
- 在整个工作温度范围内稳定运行
- 电池反接保护
- 高可靠性
- 下线线编程使其具有最佳性能
- 可靠的 EMC 性能
- 高 ESD 保护额定值
- 无旁路电容的稳压器稳定性
描述
Allegro® A1101-A1104 和 A1106 霍尔效应开关是广受欢迎的 Allegro 312x 和 314x 系列单极开关的新一代替代产品。 A110x 系列 采用 BiCMOS 技术生产,相关器件具有快速上电和低工作噪音的优点。 器件编程在封装之后进行,可消除封装应力引起的偏移,从而确保更高的开关点精确度。 独一无二的霍尔元件几何尺寸以及低偏移放大器有助于减少噪音,并降低通常由器件超模压、温度剧增和热应力引起的残余偏移电压。
A1101-A1104 和 A1106 霍尔效应开关在单硅片里包含以下元件: 稳压器、霍尔电压发生器、小信号放大器、施米特触发器和 NMOS 输出晶体管。 集成稳压器允许在 3.8 至 24 伏特之间进行工作。扩展板载保护电路使 ±30 伏特绝对最大电压额定值成为可能,因而无需添加外部元件就可为汽车和工业电动机整流应用提供超级保护。 该系列中的所有器件除磁性开关点水平之外无任何差别。
BiCMOS 工艺小巧精致的几何尺寸让这些器件均能以超小型封装形式提供。 现有的封装类型为大多数应用提供磁性最优化的解决方案。 封装 LH 是 SOT23W 微型低厚度表面安装型封装,而封装 UA 是供过孔安装使用的三引脚超小型 SIP。 所有封装均不含铅,引脚框采用 100% 雾锡电镀。
替代器件特性表
| 器件 | A110x 特性 | ||||||
|---|---|---|---|---|---|---|---|
| BOP | BRP | Hys | |||||
| 原器件 | 替代器件 | 最小值 | 最大值 | 最小值 | 最大值 | 最小值 | 最大值 |
| 3141 | A1101 | 30 | 175 | 10 | 145 | 20 | 80 |
| 3142 | A1102 | 115 | 245 | 60 | 190 | 30 | 80 |
| 3143 | A1103 | 205 | 355 | 150 | 300 | 30 | 80 |
| 3144 | A1104 | 35 | 450 | 25 | 430 | 20 | - |
| 3121 | A1106 | 260 | 430 | 160 | 330 | 70 | 140 |
询价热线:
0755-83283733, 83031813,33062500
QQ:623069669
MSN:sumzi003@sumzi.com sumzi006@sumzi.com
Email:sumzi@sumzi.com
http://www.sumzi.com
Pre:A1104EU 中文技术参数,详情请致电0755-83031813 2025-12-07
Next:A1373EKB-T 技术参数(PDF文档) 2025-12-07

Collect
Navigate:






