您是否还在为保护昂贵的大功率晶体管而苦恼?霍尔电流传感器帮您忙!
在许多产品中,霍尔电流传感器的主要作用是保护昂贵的大功率晶体管。由于霍尔电流传感器的响应时间只有几μs,因此,出现过载短路时,在晶全管未达到极限温度之前即可切断电源,使晶体管得到可靠的保护。
霍尔电流传感器与传统的互感器相比具有以下优点: 可以开路、精度高、线性好、频带宽、响应快、过载能力强和不损失测量电路能量等!
按量程分为大电流和小电流:
小电流-30A到30A 大电流-200A到200A
按功能分为三种:
一、单向-ACS713/ACS715/ACS755
二、双向-ACS712/ACS714/ACS754/ACS756/ACS758
三、热拔插-ACS761
霍尔电流传感器
功能及优点
- 高可靠性的单片霍尔 IC
- +5 V 单电源
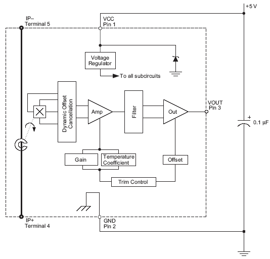
- 端子 4/5 和引脚 1/2/3 之间的隔离电压高达 3 kVRMS
- 35-120kHz 带宽
- 汽车温度范围
- 下线工厂校准增益和偏移
- 超低功率损耗: 100 µΩ 内部导体电阻
- 电源电压的成比例输出
- 极度稳定的输出偏移电压
- 小型封装尺寸,安装简便
- 输出与交流和直流电流成比例
描述
Allegro ACS75x 系列电流传感器可为工业、汽车、商业和通信系统领域提供经济实惠、测量精确的电流检测解决方案。 该器件采用封装设计,便于客户使用。 典型应用包括电动机控制、负载检测及管理、电源和过流保护。
该器件由一个低偏移的精密线性霍尔传感器电路组成,其铜制的电流路径靠近晶片的表面。 流过该电流路径的电流会产生一个磁场,该磁场可被集成霍尔IC检测并转换成同比例的电压输出。 通过将磁信号尽量接近霍尔传感器,器件的精确度已得到极大的优化。 一个精确的成比例的电压由低偏移、斩波稳定的 BiCMOS 霍尔 IC 提供,并且该 IC 出厂前已对精确度设定。
当递增式电流流过用作电流检测通路的主电流路径(从端子 4 到端子 5)时,器件的输出具有正斜率 (>VCC/ 2)。 该电流路径的内电阻通常为 100 µΩ,功率损耗较低。 铜线的厚度允许器件在高达 5倍的过电流条件下工作。 电流路径的接线端与传感器引脚(引脚 1 到 3)之间电气隔离。 凭借上述优点,ACS75x 系列传感器可取代光耦或其他成本高昂的隔离技术用于要求电气隔离的应用。
器件在出厂装运前已完全校准。 ACS75x 系列是无铅产品。 所有的引脚均镀以 100% 雾锡,封装内无铅存在。 大尺寸引脚框由无氧铜制成。
功能方框图

应用领域:
◎ 逆变电焊机
◎ 通讯或UPS电源
◎ 电力机车
◎ 数控机床
◎ 伺服系统
◎ 变频器(风机、水泵、空气压缩机等大功率设备)
◎ 电动机控
销售专员:0755-83298733
msn/e-mail:tech@sumzi.com 聂先生
Pre:HW101A-F 高灵敏InSb 霍尔元件--响拇指现货! 2026-05-06
Next:超大电流 承载检测 200A ACS754SCB-200-PFF ACS758SCB-200-PFF 均有货 2026-05-06

Collect
Navigate:






