线性传感器 热卖!
询价热线:
0755-83283733, 83031813,33062500
QQ:623069669
MSN:sumzi003@sumzi.com sumzi006@sumzi.com
Email:sumzi@sumzi.com
http://www.sumzi.com
A1302EUA 型号
ALLEGRO 品牌系列产品 A1302EUA
A1302EUA 批号 0515+
A1302EUA 数量 1000
A1302EUA 封装 TO-92
A1302EUA 包装 500/pack
A1302EUA 备注
A1302EUA PDF技术资料
ALLEGRO 品牌系列产品 A1302EUA
A1302EUA 批号 0515+
A1302EUA 数量 1000
A1302EUA 封装 TO-92
A1302EUA 包装 500/pack
A1302EUA 备注
A1302EUA PDF技术资料
| a1302.pdf A1302EUA 询价 0755-22053656 陈玲 | |
A1301 and A1302
Continuous-Time Ratiometric Linear Hall Effect Sensors
Replacement Device Characteristics Table
| Device | A130x Characteristics | |||
|---|---|---|---|---|
| Typical Sensitivity | Operating Voltage | |||
| Legacy | Replacement | Min | Max | |
| - | A1301 | 2.5 mV/G | 4.5 V | 6 V |
| UGN3503 | A1302 | 1.3 mV/G | 4.5 V | 6 V |
Features and Benefits
- Low-noise output
- Fast power-on time
- Ratiometric rail-to-rail output
- 4.5 to 6.0 V operation
- Solid-state reliability
- Factory-programmed at end-of-line for optimum performance
- Robust ESD performance
Description
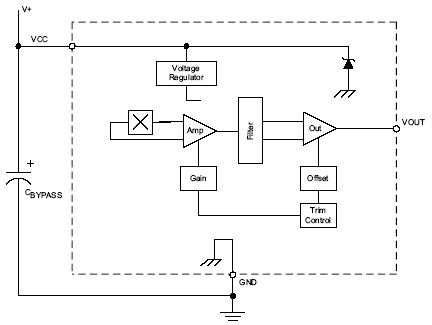
The A1301 and A1302 are continuous-time, ratiometric, linear Hall-effect sensors. They are optimized to accurately provide a voltage output that is proportional to an applied magnetic field. These devices have a quiescent output voltage that is 50% of the supply voltage. Two output sensitivity options are provided: 2.5 mV/G typical for the A1301, and 1.3 mV/G typical for the A1302.
The Hall-effect integrated circuit included in each device includes a Hall sensing element, a linear amplifier, and a CMOS Class A output structure. Integrating the Hall sensing element and the amplifier on a single chip minimizes many of the problems normally associated with low voltage level analog signals.
High precision in output levels is obtained by internal gain and offset trim adjustments made at end-of-line during the manufacturing process.
These features make the A1301 and A1302 ideal for use in position sensing systems, for both linear target motion and rotational target motion. They are wellsuited for industrial applications over extended temperature ranges, from -40°C to 125°C.
Two device package types are available: LH, a 3-pin SOT23W type for surface mount, and UA, a 3-pin ultramini SIP for through-hole mount. Each package is available in a lead (Pb) free version (suffix, -T) with 100% matte tin plated leadframe.
Functional Block Diagram

上一篇:ew732 中文资料 2025-11-03
下一篇:A3517 现已被 A1321 替代 2025-11-03

收藏本站
当前位置:






