Products

Hall-IC

ATS612LSB Hall-Effect Gear-Tooth Sensor! Last time buy! ALLEGRO New part! Hot in stock!

Description:

print

tel:0755-83031813

email:sumzi@sumzi.com

share to:

Production:

Part No.】   ATS612LSB
【Category】 Hall-Effect Gear-Tooth Sensor
【Packing】   4-Lead Module
【MFQ】        ALLEGRO
【Datasheet】
ATS612LSB Datasheet


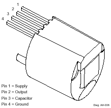
Pin-Out or Package

These parts have been phased out of production as of April 28, 2007. For new customers or new applications, please refer to Allegro ATS616.

Features and Benefits

  • Fully Optimized Differential Digital Gear-Tooth Sensor
  • Single-Chip Sensing IC for High Reliability
  • Digital Output Representing Target Profile
  • Extremely Low Timing Accuracy Drift with Temperature
  • Large Operating Air Gaps
  • Small Mechanical Size
  • Optimized Magnetic Circuit
  • Patented Peak-Detecting Filter:
    80 µs Typical Power-On Time
    <10 RPM Operation (single-tooth target)
    Correct First-Edge Detection
    Uses Small Value Ceramic Capacitors
  • Under-Voltage Lockout
  • Wide Operating Voltage Range
  • Defined Power-On State

Description

The ATS612LSB dynamically-coupled gear tooth sensor is a peak detecting device that uses gain control to provide extremely accurate gear edge detection down to low operating speeds. Each sensor module consists of a high-temperature plastic shell that holds together a samarium-cobalt magnet, a pole piece, and a dynamically-coupled differential open-collector Hall IC that has been optimized to the magnetic circuit. This small package can be easily assembled and used in conjunction with a wide variety of gear shapes and sizes.

The gear-sensing technology used for this sensor module is Hall-effect based. The sensor incorporates a dual-element Hall IC that switches in response to differential magnetic signals created by ferrous targets. The sophisticated processing circuitry contains a self-calibrating 5-bit A/D converter that normalizes the internal gain of the device to minimize the effect of air gap variations. The patented peak-detecting filter circuit eliminates magnet and system offsets and has the ability to discriminate relatively fast changes such as those caused by tilt, gear wobble, and eccentricities yet provides stable operation to extremely low RPMs.

These sensor systems are ideal for use in gathering speed, position, and timing information using gear-tooth-based configurations. The ATS612LSB is particularly suited to those applications that require extremely accurate duty cycle control or accurate edge detection similar to crank shaft applications. The lower vibration sensitivity also makes this device extremely useful for transmission speed sensing.

Functional Block Diagram

Functional Block Diagram 
Part Number Package Type RoHS Temperature
Compliant
ATS612LSB  4-lead module  No -40 °C to  150 °C


 

Contact person:

Frances New

Phone:+86-755-81832961

Fax:+86-755-83299282

Email:sumzi@sumzi.com

MSN:sumzi-frances@msn.com

http://www.sumzi.com

Copyright © 2002-2026Copyright @ 2017 Sumzi Electric Technical Co,.Ltd Of SHENZHEN . All rights reserved.No.11091659 for ICP Registration Purpose in Guangdong