Products

Hall-IC

ACS706ELC-20A/05C New original part! Hall Effect Based Linear Current Sensor! Hot offer! PDF Download!

Description:

print

tel:0755-83031813

email:sumzi@sumzi.com

share to:

Production:

Part No.】   ACS706ELC-20A
【Category】 Hall Effect Based Linear Current Sensor
【Packing】   8-Lead SOIC
【MFQ】        ALLEGRO
【Datasheet】
ACS706ELC Datasheet


Pin-Out or Package

These parts are in production but have been determined to be NOT FOR NEW DESIGN. This classification indicates that sale of this device is currently restricted to existing customer applications. The device should not be purchased for new design applications because obsolescence in the near future is probable. Samples are no longer available. For new customers or new applications, please refer to ACS712.

Features and Benefits

  • Small footprint, low-profile SOIC8 package
  • 1.5 mΩ internal conductor resistance
  • 1600 VRMS minimum isolation voltage between pins 1-4 and 5-8
  • 5 V, single supply operation
  • 50 kHz bandwidth
  • Output voltage proportional to ac and dc currents
  • Factory-trimmed for accuracy
  • Extremely stable output offset voltage
  • Near-zero magnetic hysteresis
  • Ratiometric output from supply voltage
  • Functional equivalent to ACS704with double the isolation voltage.

Description

The Allegro ACS706 family of current sensors provides small form factor and accurate solutions for current sensing in industrial, automotive, commercial, and communications systems. Typical applications include motor control, load detection and management, switched-mode power supplies, and overcurrent fault protection.

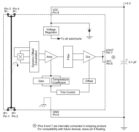
The device consists of a precision, low-offset linear Hall sensor circuit with a copper conduction path located near the surface of the die. Applied current flowing through this copper conduction path generates a magnetic field which is sensed by the integrated Hall IC and converted into a proportional voltage. Device accuracy is optimized through the close proximity of the magnetic signal to the Hall transducer. A precise, proportional voltage is provided by the low-offset, chopper-stabilized BiCMOS Hall IC, which is programmed for accuracy at the factory.

The output of the device has a positive slope (>VCC / 2) when an increasing current flows through the primary copper conduction path (from pins 1 and 2, to pins 3 and 4), which is the path used for current sensing. The internal resistance of this conductive path is typically 1.5 mΩ, providing low power loss. The thickness of the copper conductor allows survival of the device at up to 5× overcurrent conditions. The terminals of the conductive path are electrically isolated from the sensor leads (pins 5 through 8). This allows the ACS706 family of sensors to be used in applications requiring electrical isolation without the use of opto-isolators or other costly isolation techniques.

The ACS706 is provided in a small, surface mount SOIC8 package. The leadframe is plated with 100% matte tin, which is compatible with standard lead (Pb) free printed circuit board assembly processes. Internally, the flip-chip uses high-temperature Pb-based solder balls, currently exempt from RoHS. The device is fully calibrated prior to shipment from the factory.

Functional Block Diagram

Functional Block Diagram 

Part Number Package Type RoHS Temperature
Compliant
ACS706ELC-05C 8-lead SOIC  Yes -40 °C to  85 °C
ACS706ELC-20A  8-lead SOIC  Yes -40 °C to  85 °C

Contact person:

Frances New

Phone:+86-755-81832961

Fax:+86-755-83299282

Email:sumzi@sumzi.com

MSN:sumzi-frances@msn.com

http://www.sumzi.com

Copyright © 2002-2026Copyright @ 2017 Sumzi Electric Technical Co,.Ltd Of SHENZHEN . All rights reserved.No.11091659 for ICP Registration Purpose in Guangdong