Production:
【Part No.】 ATS625LSG
【Category】 Gear-Tooth Sensors
【Packing】 4-Lead Module
【MFQ】 ALLEGRO
【Datasheet】ATS625LSG Datasheet
ATS625LSG
Hall-Effect Gear-Tooth Sensors
Features and Benefits
- Highly repeatable over operating temperature range
- Tight timing accuracy over operating temperature range
- True zero-speed operation
- Air-gap–independent switchpoints
- Vibration immunity
- Large operating air gaps
- Defined power-on state
- Wide operating voltage range
- Digital output representing target profile
- Single-chip sensing IC for high reliability
- Small mechanical size
- Optimized Hall IC magnetic system
- Fast start-up
- AGC and reference adjust circuit
- Undervoltage lockout
Description
The ATS625 true zero-speed gear tooth sensor is an optimized Hall IC and magnet configuration packaged in a molded module that provides a manufacturer-friendly solution for digital gear tooth sensing applications. The sensor assembly consists of an over-molded package that holds together a samarium cobalt magnet, a pole piece concentrator, and a true zero-speed Hall IC that has been optimized to the magnetic circuit. This small package can be easily assembled and used in conjunction with gears of various shapes and sizes.
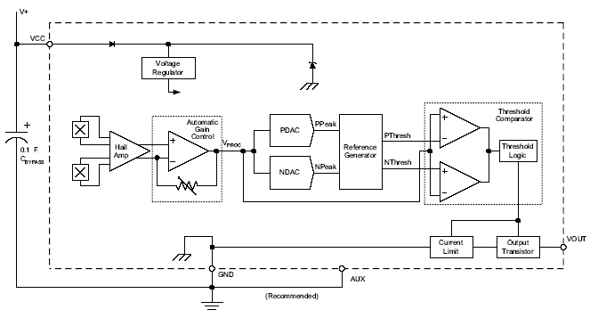
The sensor incorporates a dual-element Hall IC that switches in response to differential magnetic signals created by a ferrous target. Digital processing of the analog signal provides zero-speed performance independent of air gap as well as dynamic adaptation of device performance to the typical operating conditions found in automotive applications (reduced vibration sensitivity). High-resolution peak detecting DACs are used to set the adaptive switching thresholds of the device. Switchpoint hysteresis reduces the negative effects of any anomalies in the magnetic signal associated with the targets used in many automotive applications. This sensor system is optimized for crank applications that utilize targets that possess signature regions.
The ATS625 is provided in a 4-pin SIP. The Pb (lead) free option, available by special request, has a 100% matte tin plated leadframe.
Functional Block Diagram

Contact person:
Frances New
Phone:+86-755-81832961
Fax:+86-755-83299282
Email:sumzi@sumzi.com
MSN:sumzi-frances@msn.com
http://www.sumzi.com