Hall Effect ICs
Hall Element
MR Sensors
Hall Current Sensors
Speedometer Sensors
Flow Sensors
LED Flashlights
PI Latches
- Production
- Technology
- Configuration
- Download
Production:
ALLEGRO询价:0755-33062501 转801 陈小姐
A3141, A3142, A3143, A3144
![]()
datasheet.pdf
Sensitive Hall-Effect Switches, High-Temperature
The A3141, A3142, A3143, and A3144 have been phased out of production as of October 31, 2005, and has been replaced by the A1101, A1102, A1103, and A1104 next-generation continuous-time unipolar switches.
For samples and information on the replacement part, please refer to the A110x family.
Replacement Device Characteristics Table
| Device | A110x Characteristics | ||||||
|---|---|---|---|---|---|---|---|
| BOP | BRP | Hys | |||||
| Legacy | Replacement | Min | Max | Min | Max | Min | Max |
| A3141 | A1101 | 30 | 175 | 10 | 145 | 20 | 80 |
| A3142 | A1102 | 115 | 245 | 60 | 190 | 30 | 80 |
| A3143 | A1103 | 205 | 355 | 150 | 300 | 30 | 80 |
| A3144 | A1104 | 35 | 450 | 25 | 430 | 20 | - |
| A3121 | A1106 | 260 | 430 | 160 | 330 | 70 | 140 |
Features
- Superior Temp. Stability for Automotive or Industrial Applications
- 4.5 V to 24 V Operation ... Needs Only An Unregulated Supply
- Open-Collector 25 mA Output ... Compatible with Digital Logic
- Reverse Battery Protection
- Activate with Small, Commercially Available Permanent Magnets
- Solid-State Reliability
- Small Size
- Resistant to Physical Stress
Description
These Hall-effect switches are monolithic integrated circuits with tighter magnetic specifications, designed to operate continuously over extended temperatures to +150°C, and are more stable with both temperature and supply voltage changes. The unipolar switching characteristic makes these devices ideal for use with a simple bar or rod magnet. The four basic devices (3141, 3142, 3143, and 3144) are identical except for magnetic switch points.
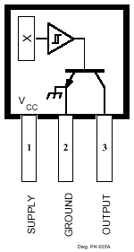
Each device includes a voltage regulator for operation with supply voltages of 4.5 to 24 volts, reverse-battery protection diode, quadratic Hall-voltage generator, temperature compensation circuitry, small- signal amplifier, Schmitt trigger, and an open-collector output to sink up to 25 mA. With suitable output pull up, they can be used with bipolar or CMOS logic circuits. The A3141- and A3142- are improved replacements for the UGN/UGS3140-; the A3144- is the improved replacement for the UGN/UGS3120-.
Functional Block Diagram
Complete Part Numbers
| Part Number | Package Type | Temperature | Comments |
| A3141ELT | 3-lead SOT | -40 °C to 85 °C | discontinued |
| A3141ELTTR | 3-lead SOT | -40 °C to 85 °C | discontinued |
| A3141EUA | 3-pin SIP | -40 °C to 85 °C | discontinued |
| A3141LLT | 3-lead SOT | -40 °C to 150 °C | discontinued |
| A3141LLTTR | 3-lead SOT | -40 °C to 150 °C | discontinued |
| A3141LUA | 3-pin SIP | -40 °C to 150 °C | discontinued |
| A3142ELT | 3-lead SOT | -40 °C to 85 °C | discontinued |
| A3142ELTTR | 3-lead SOT | -40 °C to 85 °C | discontinued |
| A3142EUA | 3-pin SIP | -40 °C to 85 °C | discontinued |
| A3142LLT | 3-lead SOT | -40 °C to 150 °C | discontinued |
| A3142LLTTR | 3-lead SOT | -40 °C to 150 °C | discontinued |
| A3142LUA | 3-pin SIP | -40 °C to 150 °C | discontinued |
| A3143ELT | 3-lead SOT | -40 °C to 85 °C | discontinued |
| A3143ELTTR | 3-lead SOT | -40 °C to 85 °C | discontinued |
| A3143EUA | 3-pin SIP | -40 °C to 85 °C | discontinued |
| A3143LLT | 3-lead SOT | -40 °C to 150 °C | discontinued |
| A3143LLTTR | 3-lead SOT | -40 °C to 150 °C | discontinued |
| A3143LUA | 3-pin SIP | -40 °C to 150 °C | discontinued |
| A3144ELT | 3-lead SOT | -40 °C to 85 °C | discontinued |
| A3144ELTTR | 3-lead SOT | -40 °C to 85 °C | discontinued |
| A3144EUA | 3-pin SIP | -40 °C to 85 °C | discontinued |
| A3144LLT | 3-lead SOT | -40 °C to 150 °C | discontinued |
| A3144LLTTR | 3-lead SOT | -40 °C to 150 °C | discontinued |
| A3144LUA | 3-pin SIP | -40 °C to 150 °C | discontinued |

Collect
Navigate:



Description:
print
tel:0755-83031813
email:sumzi@sumzi.com








