Hall Effect ICs
Hall Element
MR Sensors
Hall Current Sensors
Speedometer Sensors
Flow Sensors
LED Flashlights
PI Latches
- Production
- Technology
- Configuration
- Download
Production:
A3185, A3187, A3188, A3189Hall-Effect Latches for High-Temperature
3185.pdf
The A3185, A3187, A3188, and A3189 have been phased out of production as of October 31, 2005, and have been replaced by the A1212 thru A1214 next-generation continuous-time Hall-effect latches.
For samples and information on the suggested alternative, please refer to the A121x.
Replacement Device Characteristics Table
| Device | A121x Characteristics | ||||||
|---|---|---|---|---|---|---|---|
| BOP | BRP | Hys | |||||
| Legacy | Replacement | Min | Max | Min | Max | Min | Max |
| UGN3177 | A1210 | 25 | 150 | -150 | -25 | 50 | - |
| UGN3175 | A1211 | 15 | 180 | -180 | -15 | 80 | - |
| A3187 | A1212 | 50 | 175 | -175 | -50 | 100 | 350 |
| A3188 | A1213 | 80 | 200 | -200 | -80 | 160 | 400 |
| A3185 | A1214 | 140 | 300 | -300 | -140 | 280 | 600 |
Features
- Symmetrical Switch Points
- Superior Temperature Stability
- Operation From Unregulated Supply
- Open-Collector 25 mA Output
- Reverse Battery Protection
- Activate With Small, Commercially Available Permanent Magnets
- Solid-State Reliability
- Small Size
- Resistant to Physical Stress
Description
These Hall-effect latches are extremely temperature-stable and stress- resistant sensors especially suited for operation over extended temperature ranges to +150°C. Superior high-temperature performance is made possible through a novel Schmitt trigger circuit that maintains operate and release point symmetry by compensating for temperature changes in the Hall element.
Additionally, internal compensation provides magnetic switch points that become more sensitive with temperature, hence offsetting the usual degradation of the magnetic field with temperature. The symmetry capability makes these devices ideal for use in pulse-counting applications where duty cycle is an important parameter. The four basic devices (3185, 3187, 3188, and 3189)are identical except for magnetic switch points.
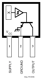
Each device includes on a single silicon chip a voltage regulator,qua- dratic Hall-voltage generator, temperature compensation circuit,signal amplifier, Schmitt trigger, and a buffered open-collector output to sink up to 25 mA. The on-board regulator permits operation with supply voltages of 3.8 to 24 volts.
Functional Block Diagram
| Part Number | Package Type | RoHS | Temperature |
| Compliant | |||
| A3185ELT | 3-lead SOT | No | -40 °C to 85 °C |
| A3185ELTTR | 3-lead SOT | No | -40 °C to 85 °C |
| A3185EUA | 3-pin SIP | No | -40 °C to 85 °C |
| A3185LLT | 3-lead SOT | No | -40 °C to 150 °C |
| A3185LLTTR | 3-lead SOT | No | -40 °C to 150 °C |
| A3185LUA | 3-pin SIP | No | -40 °C to 150 °C |
| A3187ELT | 3-lead SOT | No | -40 °C to 85 °C |
| A3187ELTTR | 3-lead SOT | No | -40 °C to 85 °C |
| A3187EUA | 3-pin SIP | No | -40 °C to 85 °C |
| A3187LLT | 3-lead SOT | No | -40 °C to 150 °C |
| A3187LLTTR | 3-lead SOT | No | -40 °C to 150 °C |
| A3187LUA | 3-pin SIP | No | -40 °C to 150 °C |
| A3188ELT | 3-lead SOT | No | -40 °C to 85 °C |
| A3188ELTTR | 3-lead SOT | No | -40 °C to 85 °C |
| A3188EUA | 3-pin SIP | No | -40 °C to 85 °C |
| A3188LLT | 3-lead SOT | No | -40 °C to 150 °C |
| A3188LLTTR | 3-lead SOT | No | -40 °C to 150 °C |
| A3188LUA | 3-pin SIP | No | -40 °C to 150 °C |
| A3189ELT | 3-lead SOT | No | -40 °C to 85 °C |
| A3189ELTTR | 3-lead SOT | No | -40 °C to 85 °C |
| A3189EUA | 3-pin SIP | No | -40 °C to 85 °C |
| A3189LLT | 3-lead SOT | No | -40 °C to 150 °C |
| A3189LLTTR | 3-lead SOT | No | -40 °C to 150 °C |
| A3189LUA | 3-pin SIP | No | -40 °C to 150 °C |
Contact person:
Frances New
Phone:+86-755-81832961
Fax:+86-755-83299282
Email:sumzi@sumzi.com
MSN:sumzi-frances@msn.com
http://www.sumzi.com

Collect
Navigate:



Description:
print
tel:0755-83031813
email:sumzi@sumzi.com








