Products

Hall-IC

ATS643LSH 带持续更新的自行校准零点速度差分齿轮齿传感器

Description:

print

tel:0755-83031813

email:sumzi@sumzi.com

share to:

Production:

带持续更新的自行校准零点速度差分齿轮齿传感器管脚分布

功能及优点

  • 全面优化差分数字齿轮齿传感器
  • 可实现高可靠性的单芯片 IC
  • 可双线式操作的内部电流稳压器
  • 较小的机械尺寸(8 毫米直径 x 5.5 毫米深)
  • 独立的开关点气隙
  • 表示齿轮配置文件的数字输出
  • 在整个温度范围以内的准确的工作循环精确度
  • 较大的工作气隙
  • <2 ms 通电时间
  • AGC 和参考调整电路
  • 真零点速度操作
  • 欠压锁定
  • 较宽的工作电压范围
  • 已定义通电状态

描述

ATS643 是集成电路与磁铁的已优化组合,可为双线式应用领域中的真零点速度数字齿轮齿感测提供制造商友好型解决方案。 该器件包括一个单脉冲模压塑料封装,其中包括钐钴磁铁、极片以及专为磁路和汽车环境所优化的霍尔效应 IC。 该小型封装可便于组装并使用在不同齿轮形状及尺寸上。

该集成电路将双元件霍尔效应传感器与信号处理电路相结合,可响应旋转亚铁目标产生的差分磁性信号而进行开关操作。 该器件包括一个复杂的补偿电路,以消除通电时即刻产生的磁铁和系统偏移。 模拟信号的数字跟踪用于取得真零点速度操作,同时也设置器件的开关点。 设置后的开关点独立于气隙,可极大地提高输出和工作循环准确度。 该器件还使用持续更新算法对在运行模式下的开关点进行微调,以便即使在气隙或温度发生较大变化时也能保持器件的规格。

可调节的电流输出经配置可进行双线式操作,提供固有的诊断信息。 该器件是在诸如变速器速度感测等齿轮齿应用领域中获得速度和工作循环信息的理想之选。

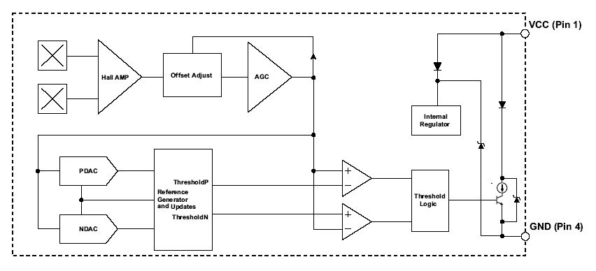
功能方框图

功能方框图

 

询价热线:

0755-83283733, 83031813,33062500

QQ:623069669

MSN:sumzi003@sumzi.com  sumzi006@sumzi.com

Email:sumzi@sumzi.com 

http://www.sumzi.com

Copyright © 2002-2026Copyright @ 2017 Sumzi Electric Technical Co,.Ltd Of SHENZHEN . All rights reserved.No.11091659 for ICP Registration Purpose in Guangdong