Products

Hall-IC

A1301 和 A1302 连续型比例式线性霍尔效应传感器

Description:

print

tel:0755-83031813

email:sumzi@sumzi.com

share to:

Production:

A1301 和 A1302
连续型比例式线性霍尔效应传感器

管脚分布

替代器件特性表

器件 A130x 特性
典型灵敏度 工作电压
原器件 替代器件 最小值 最大值
- A1301 2.5 mV/G 4.5 V 6 V
UGN3503 A1302 1.3 mV/G 4.5 V 6 V

功能及优点

  • 低噪音输出
  • 快速上电
  • 成比例轨对轨输出
  • 4.5 V 至 6.0V 操作
  • 高可靠性
  • 下线出厂编程,具有最佳性能
  • 可靠的 ESD 性能

无铅

描述

A1301 和 A1302 是连续型比例式线性霍尔效应传感器。 这些传感器已经优化,可精确提供与所适用磁场成比例的电压输出。 这些器件具有等于电源电压 50% 的静态输出电压。 提供两种输出灵敏度选择: 适用于 A1301 的 2.5 mV/G 及适用于 A1302 的 1.3 mV/G。

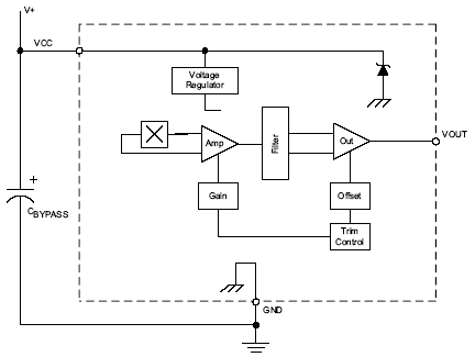
每个器件中的霍尔效应集成电路包括霍尔感测元件、线性放大器和 CMOS A 类输出结构。 将霍尔感测元件和放大器集成在单个芯片上,可将通常与低电压水平模拟信号相关联的很多问题减到最少。

该产品在制造过程中已在下线时进行内部增益和偏置修正调整,可实现高精度的输出水平。

这些功能使 A1301 和 A1302 在线性目标移动和旋转目标移动的位置检测系统中成为首选。 它们非常适合于温度范围较宽( -40°C 至 125°C )的工业应用。

提供两种器件封装类型: LH,供表面安装使用的 3 引脚 SOT23W 型封装;以及 UA,供过孔安装使用的 3 引脚超小型 SIP 所有封装均为无铅版本(后缀,T),引脚框采用100% 雾锡电镀。

功能方框图

功能方框图

询价热线:

0755-83283733, 83031813,33062500

QQ:623069669

MSN:sumzi003@sumzi.com  sumzi006@sumzi.com

Email:sumzi@sumzi.com 

http://www.sumzi.com

Copyright © 2002-2026Copyright @ 2017 Sumzi Electric Technical Co,.Ltd Of SHENZHEN . All rights reserved.No.11091659 for ICP Registration Purpose in Guangdong