Products

Hall-IC

ALLEGRO A3185-3189 PDF datasheet offer!

Description:

print

tel:0755-83031813

email:sumzi@sumzi.com

share to:

Production:

3185-3189.pdf

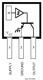
Pin-Out or Package

The A3185, A3187, A3188, and A3189 have been phased out of production as of October 31, 2005, and have been replaced by the A1212 thru A1214 next-generation continuous-time Hall-effect latches.

For samples and information on the suggested alternative, please refer to the A121x.

Replacement Device Characteristics Table

Device A121x Characteristics
BOP BRP Hys
Legacy Replacement Min Max Min Max Min Max
UGN3177 A1210 25 150 -150 -25 50 -
UGN3175 A1211 15 180 -180 -15 80 -
A3187 A1212 50 175 -175 -50 100 350
A3188 A1213 80 200 -200 -80 160 400
A3185 A1214 140 300 -300 -140 280 600

Features

  • Symmetrical Switch Points
  • Superior Temperature Stability
  • Operation From Unregulated Supply
  • Open-Collector 25 mA Output
  • Reverse Battery Protection
  • Activate With Small, Commercially Available Permanent Magnets
  • Solid-State Reliability
  • Small Size
  • Resistant to Physical Stress

Description

These Hall-effect latches are extremely temperature-stable and stress- resistant sensors especially suited for operation over extended temperature ranges to +150°C. Superior high-temperature performance is made possible through a novel Schmitt trigger circuit that maintains operate and release point symmetry by compensating for temperature changes in the Hall element.

Additionally, internal compensation provides magnetic switch points that become more sensitive with temperature, hence offsetting the usual degradation of the magnetic field with temperature. The symmetry capability makes these devices ideal for use in pulse-counting applications where duty cycle is an important parameter. The four basic devices (3185, 3187, 3188, and 3189)are identical except for magnetic switch points.

Each device includes on a single silicon chip a voltage regulator,qua- dratic Hall-voltage generator, temperature compensation circuit,signal amplifier, Schmitt trigger, and a buffered open-collector output to sink up to 25 mA. The on-board regulator permits operation with supply voltages of 3.8 to 24 volts.

Functional Block Diagram

Functional Block Diagram 

Part Number
Package Type RoHS Compliant Temperature
A3185ELT  3-lead SOT  No -40 °C to  85 °C
A3185ELTTR  3-lead SOT  No -40 °C to  85 °C
A3185EUA  3-pin SIP  No -40 °C to  85 °C
A3185LLT  3-lead SOT  No -40 °C to  150 °C
A3185LLTTR  3-lead SOT  No -40 °C to  150 °C
A3185LUA  3-pin SIP  No -40 °C to  150 °C
A3187ELT  3-lead SOT  No -40 °C to  85 °C
A3187ELTTR  3-lead SOT  No -40 °C to  85 °C
A3187EUA  3-pin SIP  No -40 °C to  85 °C
A3187LLT  3-lead SOT  No -40 °C to  150 °C
A3187LLTTR  3-lead SOT  No -40 °C to  150 °C
A3187LUA  3-pin SIP  No -40 °C to  150 °C
A3188ELT  3-lead SOT  No -40 °C to  85 °C
A3188ELTTR  3-lead SOT  No -40 °C to  85 °C
A3188EUA  3-pin SIP  No -40 °C to  85 °C
A3188LLT  3-lead SOT  No -40 °C to  150 °C
A3188LLTTR  3-lead SOT  No -40 °C to  150 °C
A3188LUA  3-pin SIP  No -40 °C to  150 °C
A3189ELT  3-lead SOT  No -40 °C to  85 °C
A3189ELTTR  3-lead SOT  No -40 °C to  85 °C
A3189EUA  3-pin SIP  No -40 °C to  85 °C
A3189LLT  3-lead SOT  No -40 °C to  150 °C
A3189LLTTR  3-lead SOT  No -40 °C to  150 °C
A3189LUA  3-pin SIP  No -40 °C to  150 °C

Contact person:

Frances New

Phone:+86-755-81832961

Fax:+86-755-83299282

Email:sumzi@sumzi.com

MSN:sumzi_frances@msn.com

http://www.sumzi.com

Copyright © 2002-2026Copyright @ 2017 Sumzi Electric Technical Co,.Ltd Of SHENZHEN . All rights reserved.No.11091659 for ICP Registration Purpose in Guangdong