Products

Hall-IC

A6260 高亮 LED 电流调节器(完整型号)

Description:

print

tel:0755-83031813

email:sumzi@sumzi.com

share to:

Production:

A6260
高亮 LED 电流调节器

管脚分布

特点

  • 汽车级
  • LED 驱动器电流最高为 350 mA
  • 6 至 40 V 电源电压
  • 电池反接保护
  • 低压差电压
  • LED 短路和过热保护
  • 10 µA 最大关机电流
  • PWM 光暗控制输入
  • 电流转换速率限制

描述

A6260 是一款线性、可编程电流调节器,最高可提供 350 mA 电流,以驱动高亮 LED 。LED 电流可精确调节至 4%,由单一低功率感应电阻器设置。使用恒流驱动 LED,确保在最大可能照明输出时安全运行。对于汽车应用,使用最高为 350 mA 的电流驱动 1 至 3 个 LED,实现性能优化。

A6260 的低压差电压特点,可在满电流及电源电压低至 6 V 时,实现单个白色 LED 的安全驱动。

启用输入实现 PWM 光暗调节,并可用于启动低电流休眠模式。PWM 切换时,电流变化率受到限制,从而减少 EMI。

当 LED 端子电源短路或对地短路时,过流检测对 LED 和 A6260 提供保护。

如果芯片温度超过温度限制,集成温度监控器可用于降低 LED 驱动器电流。

该器件采用 8 引脚 SOIC 封装,带有外露热传导垫片(后缀 LJ)。器件为无铅产品,引脚框采用 100% 雾锡电镀。

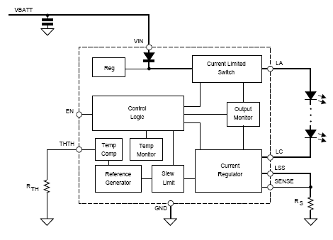
功能方框图

功能方框图

完整型号

型号 封装类型 RoHS
符合性
部件构成/
RoHS 数据
温度 评论 样品
A6260SLJ-T 8-铅 SOT 查看数据 -20 °C 至 85 °C 联系当地销售代表
A6260SLJTR-T 8-铅 SOT 查看数据 -20 °C 至 85 °C 联系当地销售代表
A6260KLJ-T 8-铅 SOT 查看数据 -40 °C 至 125 °C 联系当地销售代表
A6260KLJTR-T 8-铅 SOT 查看数据 -40 °C 至 125 °C 联系当地销售代表
APEK6260KLJ-01 1-铅 DEMO BOARD -- -- -40 °C 至 125 °C 联系当地销售代表

 

响拇指报价热线:
0755-83283733, 83031813,33062500
QQ:623069669
MSN:sumzi003@sumzi.com  sumzi006@sumzi.com
Email:sumzi@sumzi.com 
http://www.sumzi.com

Copyright © 2002-2026Copyright @ 2017 Sumzi Electric Technical Co,.Ltd Of SHENZHEN . All rights reserved.No.11091659 for ICP Registration Purpose in Guangdong