Production:
A6281EESTR-T 详细介绍
A6281EESTR-T 型号
ALLEGRO品牌系列产品 A6281EESTR-T
A6281EESTR-T 批号 08+
A6281EESTR-T 数量 10000
A6281EESTR-T 封装 16-铅 QFN
A6281EESTR-T 包装 3K/盘
A6281EESTR-T 备注 5-7天
A6281EESTR-T PDF技术资料
A6281
带可编程 PWM 控制的三通道恒流 LED 驱动器
特点
- 3 × 10位 PWM 亮度设置
- 3 × 7 位点校正电流设置
- 在 5 至 17 V 之间工作
- 宽输出电流范围(每通道 10 至 150 毫安)
- 内部发电 PWM 时钟
- 串行端口可在高达5 MHz的频率下工作
- 数据和时钟逻辑架构允许由单微控制器以高数据传输速率对大量的串行连接A6281进行控制。
- 缓存逻辑输出至驱动器电缆
- 热关断和UVLO保护
- 通电状态复位
应用
- 彩色大字体LED标志牌
- 彩色卷帘
- 建筑照明
- 高亮度单色显示
- 大型视频及图形显示
描述
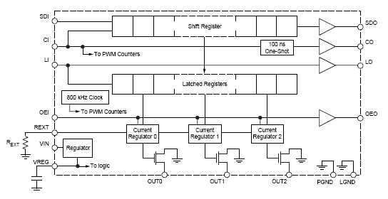
A6281 是一个三通道恒流 LED 驱动器,具有范围较广的输出电流。A6281 通过带脉冲宽度调制 (PWM) 方案控制 LED 亮度,可为应用提供通过RGB群集显示十亿色彩的功能。最大电流可通过外部电阻器设置。
LED 亮度是通过对输出执行 PWM 控制的方式进行控制。每个 LED 的 PWM 信号的亮度数据保存在三个 10 位的寄存器中。每个LED的峰值均可调整(点校正),以补偿失配、老化和温度影响。所有内部锁存寄存器均由 32 位移位寄存器加载。一个地址位用于控制点校正/时钟分配器比率或亮度数据是否加载到寄存器中。余下的位用于数据。
A6281 设计可最大限度地减少驱动像素间隔较大的LED所需的元件数量。多个 A6281 可以采用菊花链方式连接,由四个控制信号(时钟、串行数据、锁存和输出启用)控制。所有这些输入都加以缓存,以驱动链上的下一个芯片。同时,VIN 可连接到 LED 电源总线,从而消除对分体式芯片电源总线或外部稳压器的需求。
A6281 采用3 mm × 3 mm 16 端子QFN (后缀 ‘ES’)封装,标称整体高度为0.75 mm。该封装为无铅封装,采用 100% 雾锡电镀引脚框。
功能方框图
