Production:
ACS750
电流传感器IC
功能及优点
- 高可靠性的单片霍尔 IC
- 单个 +5 V 电源
- 3 kVRMS 隔离电压: 端子 4/5 与管脚 1/2/3 之间,时间可达 1 分钟
- 13 kHz 带宽
- 汽车温度范围
- 下线工厂校准增益和偏移
- 超低功率损耗:130 µΩ 内部传导电阻
- 电源电压的成比例输出
- 极度稳定的输出偏移电压
- 小型封装尺寸,安装简便
- 输出与交流和直流电流成比例
描述
Allegro ACS75x 电流传感器 IC 系列为工业、汽车、商业和通信系统的电流感测提供经济实惠、精确的解决方案。该器件封装便于客户使用。典型应用包括电动机控制、载荷检测和管理、电源和过流保护。
该器件由一个精确的、低偏移的线性霍尔传感器电路组成,且其铜制的电流路径靠近晶片。流过该电流路径的电流会产生一个磁场,该磁场被集成霍尔 IC 检测并且转换成同比例的电压输出。器件精确度已通过磁性信号与霍尔传感器之间的接近性得到优化。一个精确的成比例的电压由低偏移、稳定斩波的 BiCMOS 霍尔 IC 提供,并且该 IC 出厂前已对精确度编程。
当通过用作电流感测通路之铜传导主通路(从端子 4 到端子 5)的电流不断上升时,器件的输出具有正斜率 (>VCC / 2) 。该传导通路的内电阻通常是130μΩ,具有较低的功率损耗。铜线的尺寸允许器件在高达 5× 的过电流条件下运行。传导通路的接线端与传感器引脚(引脚 1 到 3)是电气绝缘的。这让 ACS75x 传感器 IC 系列可用于那些要求电气绝缘却未使用光电绝缘器或其它昂贵绝缘技术的应用。
器件在出厂装运前已完全校准。ACS75x 系列是无铅产品。所有的引脚均镀以 100% 雾锡,封装内无任何铅存在。大量规引脚框是由无氧铜制造。
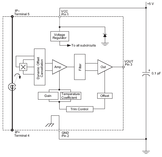
功能方框图

深圳响拇指电子科技有限公司
黄少华(小姐)13802552672
T E L: 0755-33062501
F A X: 0755-33062503
Q Q: 623069669
M S N:sumzi002@sumzi.com
E-MAIL:sumzi002@sumzi.com
A D D:深圳市福田区振华路高科德电子市场51820-51821