Production:
新到现货ACS755LCB-050-PFF!ALLEGRO品牌原装正品!!
ACS755LCB-100-PFF!ALLEGRO品牌原装正品!!
功能及优点
- 高可靠性的单片霍尔 IC
- 单个 +5 V 电源
- 3 kVRMS 隔离电压: 端子 4/5 与管脚 1/2/3 之间,时间可达 1 分钟
- 18 kHz 带宽
- 汽车温度范围
- 下线工厂校准增益和偏移
- 超低功率损耗:100 µΩ 内部传导电阻
- 电源电压的成比例输出
- 极度稳定的输出偏移电压
- 小型封装尺寸,安装简便
- 输出与直流电流成比例
描述
Allegro ACS755 电流传感器 IC 系列为工业、汽车、商业和通信系统的直流电流感测提供经济实惠、精确的解决方案。该器件采用封装设计,便于客户使用。典型应用包括电动机控制、负载检测及管理、电源和过流保护。
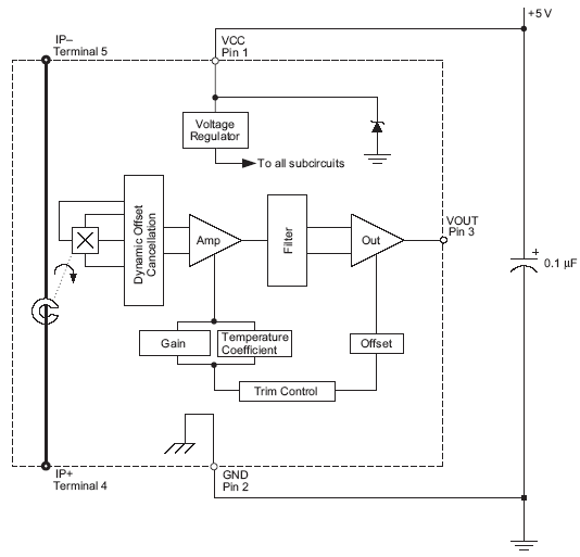
该器件由一个低偏移的精密线性霍尔传感器电路组成,其铜制的电流路径靠近晶片的表面。流过该电流路径的电流会产生一个磁场,该磁场可被集成霍尔 IC 检测并转换成同比例的电压输出。通过将磁信号尽量接近霍尔传感器,器件的精确度已得到极大的优化。一个精确的成比例的电压由低偏移、斩波稳定的 BiCMOS 霍尔 IC 提供,并且该 IC 出厂前已对精确度设定。
当电流通过用作电流感测通路之铜传导主通路(从端子 4 到端子 5)时,器件输出将有效。该传导通路的内电阻通常是 100 µΩ,具有较低的功率损耗。
铜线的尺寸允许器件在高达 5× 的过电流条件下运行。电流路径的接线端与传感器引脚(引脚 1 到 3)之间电气隔离。这让 ACS755 传感器 IC 系列可用于那些要求电气绝缘却未使用光电绝缘器或其它昂贵绝缘技术的应用。
器件在出厂装运前已完全校准。ACS75x 系列是无铅产品。所有的引脚均镀以 100% 雾锡,封装内无任何铅存在。大尺寸引脚框由无氧铜制成。
功能方框图

深圳响拇指电子科技有限公司
黄少华(小姐)13802552672
T E L: 0755-33062501
F A X: 0755-33062503
Q Q: 623069669
M S N:sumzi002@sumzi.com
E-MAIL:sumzi002@sumzi.com
A D D:深圳市福田区振华路高科德电子市场51820-51821