Products

Hall-IC

ACS755 Current Sensor ICs

Description:

print

tel:0755-83031813

email:sumzi@sumzi.com

share to:

Production:

Features and Benefits

  • Monolithic Hall IC for high reliability
  • Single +5 V supply
  • 3 kVRMS isolation voltage between terminals 4/5 and pins 1/2/3 for up to 1 minute
  • 18 kHz bandwidth
  • Automotive temperature range
  • End-of-line factory-trimmed for gain and offset
  • Ultra-low power loss: 100 µΩ internal conductor resistance
  • Ratiometric output from supply voltage
  • Extremely stable output offset voltage
  • Small package size, with easy mounting capability
  • Output proportional to DC currents

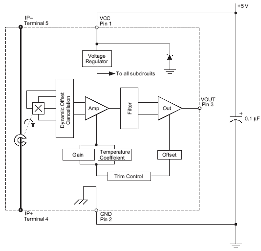
Functional Block Diagram

Functional Block Diagram

Sumzi can provide:

Part Number Package Type RoHS Part Composition/ Temperature
Compliant RoHS Data
ACS755LCB-050-PFF  3-lead CB  Yes view data -40 °C to  150 °C
ACS755LCB-100-PFF  3-lead CB  Yes view data -40 °C to  150 °C

Contact person:

Willing

Phone:+86-1893 8044 669

Fax:+86-755-2264 5259

Email:sales001@sumzi.com

MSN:sales001@sumzi.com

Copyright © 2002-2026Copyright @ 2017 Sumzi Electric Technical Co,.Ltd Of SHENZHEN . All rights reserved.No.11091659 for ICP Registration Purpose in Guangdong