ACS750 技术资料及报价(附PDF文档)
发布时间:2007-07-24 浏览:11330次
ACS750
Current Sensors
Sumzi Electronics Co., Ltd
0750-050.pdf
Features and Benefits
- Monolithic Hall IC for high reliability
- Single +5 V supply
- 3 kVRMS isolation voltage between terminals 4/5 and pins 1/2/3
- Lead-free
- Automotive temperature range available
- End-of-line factory-trimmed for gain and offset
- Ultra-low power loss: 130 µΩ internal conductor resistance
- Ratiometric output from supply voltage
- Extremely stable output offset voltage
- Small package size, with easy mounting capability
- Output proportional to ac and dc currents
Description
The Allegro ACS75x family of current sensors provides economical and precise solutions for current sensing in industrial, automotive, commercial, and communications systems. The device package allows for easy implementation by the customer. Typical applications include motor control, load detection and management, power supplies, and overcurrent fault protection.
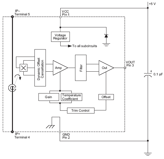
The device consists of a precision, low-offset linear Hall sensor circuit with a copper conduction path located near the die. Applied current flowing through this copper conduction path generates a magnetic field which is sensed by the integrated Hall IC and converted into a proportional voltage. Device accuracy is optimized through the close proximity of the magnetic signal to the Hall transducer. A precise, proportional voltage is provided by the low-offset, chopper-stabilized BiCMOS Hall IC, which is programmed for accuracy at the factory.
The output of the device has a positive slope (>VCC / 2) when an increasing current flows through the primary copper conduction path (from terminal 4 to terminal 5), which is the path used for current sensing. The internal resistance of this conductive path is typically 130 µΩ, providing low power loss. The thickness of the copper conductor allows survival of the device at up to 5x overcurrent conditions. The terminals of the conductive path are electrically isolated from the sensor leads (pins 1 through 3). This allows the ACS75x family of sensors to be used in applications requiring electrical isolation without the use of opto-isolators or other costly isolation techniques.
The device is fully calibrated prior to shipment from the factory. The ACS75x family is lead-free. All leads are coated with 100% matte tin, and there is no lead inside the package. The heavy gauge leadframe is made of oxygen-free copper.
Functional Block Diagram
| Part Number | Package Type | RoHS | Temperature |
| Compliant | |||
| ACS750SCA-050 | 5-lead CA | Yes | -20 °C to 85 °C |
| ACS750SCA-075 | 5-lead CA | Yes | -20 °C to 85 °C |
| ACS750SCA-100 | 5-lead CA | Yes | -20 °C to 85 °C |
| ACS750ECA-100 | 5-lead CA | Yes | -40 °C to 85 °C |
| ACS750LCA-050 | 5-lead CA | Yes | -40 °C to 150 °C |
| ACS750LCA-075 | 5-lead CA | Yes | -40 °C to 150 °C |
上一篇:ACS706 技术资料及报价(附PDF文档) 2026-03-17
下一篇:ACS752 技术资料及报价(附PDF文档) 2026-03-17

收藏本站
当前位置:






