已停产 A3141 替换型号 A1101
A3141, A3142, A3143, A3144
Sensitive Hall-Effect Switches, High-Temperature
A1101 型号
A1101 应用
ALLEGRO 品牌系列产品
A1101 批号 07+rohs
A1101 数量 大量现货
A1101 封装 sip sot
A1101 包装
A1101 价格 请来电咨询
A1101 备注 原装正品,无铅现货
A1101 PDF技术资料
A1101 相关型号
询价热线:
0755-83283733, 83031813,33062500
QQ:623069669
MSN:sumzi003@sumzi.com sumzi006@sumzi.com
Email:sumzi@sumzi.com
http://www.sumzi.com
The A3141, A3142, A3143, and A3144 have been phased out of production as of October 31, 2005, and has been replaced by the A1101, A1102, A1103, and A1104 next-generation continuous-time unipolar switches.
For samples and information on the replacement part, please refer to the A110x family.
Replacement Device Characteristics Table
| Device | A110x Characteristics | ||||||
|---|---|---|---|---|---|---|---|
| BOP | BRP | Hys | |||||
| Legacy | Replacement | Min | Max | Min | Max | Min | Max |
| A3141 | A1101 | 30 | 175 | 10 | 145 | 20 | 80 |
| A3142 | A1102 | 115 | 245 | 60 | 190 | 30 | 80 |
| A3143 | A1103 | 205 | 355 | 150 | 300 | 30 | 80 |
| A3144 | A1104 | 35 | 450 | 25 | 430 | 20 | - |
| A3121 | A1106 | 260 | 430 | 160 | 330 | 70 | 140 |
Features
- Superior Temp. Stability for Automotive or Industrial Applications
- 4.5 V to 24 V Operation ... Needs Only An Unregulated Supply
- Open-Collector 25 mA Output ... Compatible with Digital Logic
- Reverse Battery Protection
- Activate with Small, Commercially Available Permanent Magnets
- Solid-State Reliability
- Small Size
- Resistant to Physical Stress
Description
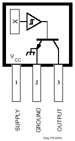
These Hall-effect switches are monolithic integrated circuits with tighter magnetic specifications, designed to operate continuously over extended temperatures to +150°C, and are more stable with both temperature and supply voltage changes. The unipolar switching characteristic makes these devices ideal for use with a simple bar or rod magnet. The four basic devices (3141, 3142, 3143, and 3144) are identical except for magnetic switch points.
Each device includes a voltage regulator for operation with supply voltages of 4.5 to 24 volts, reverse-battery protection diode, quadratic Hall-voltage generator, temperature compensation circuitry, small- signal amplifier, Schmitt trigger, and an open-collector output to sink up to 25 mA. With suitable output pull up, they can be used with bipolar or CMOS logic circuits. The A3141- and A3142- are improved replacements for the UGN/UGS3140-; the A3144- is the improved replacement for the UGN/UGS3120-.
Functional Block Diagram
Complete Part Numbers
|
Part Number |
Package Type |
Temperature |
Comments |
|
A3141ELT |
3-lead SOT |
-40 °C to 85 °C |
discontinued |
|
A3141ELTTR |
3-lead SOT |
-40 °C to 85 °C |
discontinued |
|
A3141EUA |
3-pin SIP |
-40 °C to 85 °C |
discontinued |
|
A3141LLT |
3-lead SOT |
-40 °C to 150 °C |
discontinued |
|
A3141LLTTR |
3-lead SOT |
-40 °C to 150 °C |
discontinued |
|
A3141LUA |
3-pin SIP |
-40 °C to 150 °C |
discontinued |
|
A3142ELT |
3-lead SOT |
-40 °C to 85 °C |
discontinued |
|
A3142ELTTR |
3-lead SOT |
-40 °C to 85 °C |
discontinued |
|
A3142EUA |
3-pin SIP |
-40 °C to 85 °C |
discontinued |
|
A3142LLT |
3-lead SOT |
-40 °C to 150 °C |
discontinued |
|
A3142LLTTR |
3-lead SOT |
-40 °C to 150 °C |
discontinued |
|
A3142LUA |
3-pin SIP |
-40 °C to 150 °C |
discontinued |
|
A3143ELT |
3-lead SOT |
-40 °C to 85 °C |
discontinued |
|
A3143ELTTR |
3-lead SOT |
-40 °C to 85 °C |
discontinued |
|
A3143EUA |
3-pin SIP |
-40 °C to 85 °C |
discontinued |
|
A3143LLT |
3-lead SOT |
-40 °C to 150 °C |
discontinued |
|
A3143LLTTR |
3-lead SOT |
-40 °C to 150 °C |
discontinued |
|
A3143LUA |
3-pin SIP |
-40 °C to 150 °C |
discontinued |
|
A3144ELT |
3-lead SOT |
-40 °C to 85 °C |
discontinued |
|
A3144ELTTR |
3-lead SOT |
-40 °C to 85 °C |
discontinued |
|
A3144EUA |
3-pin SIP |
-40 °C to 85 °C |
discontinued |
|
A3144LLT |
3-lead SOT |
-40 °C to 150 °C |
discontinued |
|
A3144LLTTR |
3-lead SOT |
-40 °C to 150 °C |
discontinued |
|
A3144LUA |
3-pin SIP |
-40 °C to 150 °C |
discontinued |
此类产品本公司大量原装现货热卖型号
A3212EUA-T ALLEGRO 07+ 3-pinSIP(袋) 500 pcs/bag
KTY81-210 (NXP)PHILIPS 07+ TO-92 500 pcs/bag
A3977SEDTR ALLEGRO 07+ 44lead 450pcs/reel PLCC
A3977SED ALLEGRO 07+ 44-lead 450pcs/reel PLCC
A3955SB ALLEGRO 07+ 16pin DIP
A1104EU-T ALLEGRO 07+ 3-pin SIP 500PCS/BAG
A1104EUA-T ALLEGRO 07+ 3-pin SIP 500PCS/BAG
上一篇:SS16 参数1A/60V 0755-22053656 陈小姐 2026-04-09
下一篇:霍尔 双极型 EW-432 可提供样品 0755-83283733,33062500 2026-04-09

收藏本站
当前位置:






