特价供应 ACS706 报价 参数下载 拥有大量库存 询价热线:0755-83031813 王小姐
【产品型号】ACS706ELC-20A/05C
【产品类型】霍尔效应的线性传感器
【产品规格】8-pin SOT
【生产厂家】ALLEGRO
【技术参数】ACS706 技术参数下载
ACS706
双向 1.5 mΩ 基于霍尔效应的线性传感器,带电压绝缘及 5/20A 优化测量范围
功能及优点
- 小型、低厚度 SOIC8 封装
- 1.5 mΩ 内部传导电阻
- 引脚 1-4 和 5-8 之间 1600 VRMS 最小绝缘电压
- 5 伏特,单电源操作
- 50 千赫带宽
- 输出电压与交流和直流电流成比例
- 出厂时精确度校准
- 极度稳定的输出偏移电压
- 近零的磁滞
- 电源电压的成比例输出
- 带双绝缘电压、与ACS704等同的功能
描述
Allegro ACS706 电流传感器系列为工业、汽车、商业和通信系统提供了小体积和精确的电流检测方案。 典型应用包括电动机控制、载荷检测和管理、开关电源和过流保护。
该器件有一个精确的,低偏移的线性霍尔传感器电路组成,且其铜制的电流路径靠近晶片的表面。 流过该电流路径的电流会产生一个磁场,该磁场被集成霍尔 IC 检测并且转换成同比例的电压输出。 器件精确度已通过磁性信号与霍尔传感器之间的接近性得到优化。 一个精确的成比例的电压由低偏移、稳定斩波的 BiCMOS 霍尔 IC 提供,并且该 IC 出厂前已对精确度编程。
当通过用作电流感测通路之主要铜制电流路径(从引脚 1 和 2,到 3 和 4)的电流不断上升时,器件的输出具有正斜率 (>VCC / 2)。 该传导通路的内电阻通常是 1.5 mΩ,具有较低的功率损耗。 铜线的厚度允许器件在可达 5× 的过电流条件下运行。 传导通路的接线端与传感器引脚(引脚 5 到 8)是电气绝缘的。 这让 ACS706 传感器系列可用于那些要求电气绝缘却未使用光电绝缘器或其它昂贵绝缘技术的应用。
ACS706 采用小型的、表面安装 SOIC8 封装。 引脚架镀采用 100% 雾锡电镀,可与标准无铅 (Pb) 印刷电路板装配流程兼容。 在内部,倒装法使用当前豁免于 RoHS 的高温含铅焊球。 器件在出厂装运前已完全校准。
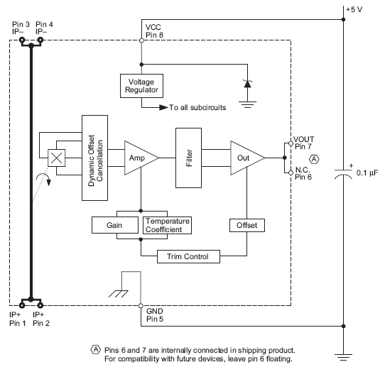
功能方框图

完整型号
|
型号 |
封装类型 |
RoHS 符合性 |
温度 |
评论 |
|
ACS706ELC-05C |
8-铅 SOIC |
是 |
-40 °C 至 85 °C |
不适用于新设计 |
|
ACS706ELC-20A |
8-铅 SOIC |
是 |
-40 °C 至 85 °C |
不适用于新设计 |
询价热线:
0755-83283733, 83031813,33062500
QQ:623069669
MSN:sumzi003@sumzi.com sumzi006@sumzi.com
Email:sumzi@sumzi.com
http://www.sumzi.com
上一篇:现货供应 台湾厚声Uni-Ohm贴片电阻 咨询热线电话:0755-61329532 陈玲 2025-12-03
下一篇:1SS133T-77 ROHM 芯片 原装 现货 热销 价格 优惠 2025-12-03

收藏本站
当前位置:






