原装正品 A3046替代型号为:ATS625LSG特价 提供技术参数下载 欢迎来电咨询:0755-33062500
【产品型号】ATS625LSG
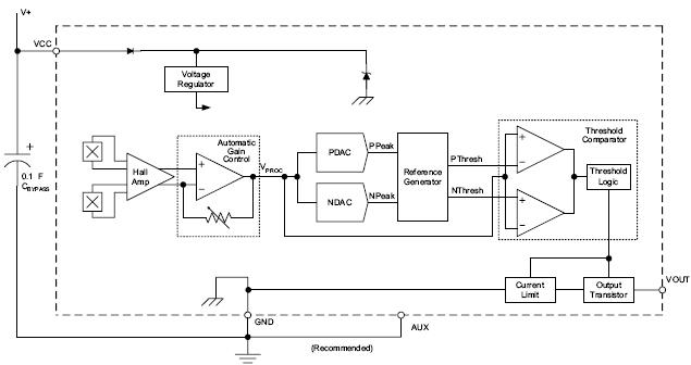
【产品类型】霍尔效应齿轮传感器
【生产厂家】ALLEGRO
【产品规格】3-pin SIP
【技术参数】ATS625LSG 技术参数.PDF
Features and Benefits
▪ Highly repeatable over operating temperature range
▪ Tight timing accuracy over operating temperature range
▪ True zero-speed operation
▪ Air-gap–independent switchpoints
▪ Vibration immunity
▪ Large operating air gaps
▪ Defined power-on state
▪ Wide operating voltage range
▪ Digital output representing target profile
▪ Single-chip sensing IC for high reliability
▪ Small mechanical size
▪ Optimized Hall IC magnetic system
▪ Fast start-up
▪ AGC and reference adjust circuit
▪ Undervoltage lockout

询价热线:
0755-83283733, 83031813,33062500
QQ:623069669
MSN:sumzi003@sumzi.com sumzi006@sumzi.com
Email:sumzi@sumzi.com
http://www.sumzi.com
上一篇:AT89C2051-24PI (ATMEL)单片机 现货供应 提供技术资料及价格 2025-12-07
下一篇:DALLAS DS1307 2025-12-07

收藏本站
当前位置:






