A3240LUA 稳定斩波精确霍尔效应开关 报价0755-33062500
3240
CHOPPER-STABILIZED, PRECISION
HALL-EFFECT SWITCH
A3240LUA 型号
A3240LUA 类型 稳定斩波精确霍尔效应开关
A3240LUA 应用
ALLEGRO 品牌系列产品
A3240LUA 批号
A3240LUA 数量
A3240LUA 封装
A3240LUA 包装
A3240LUA 价格
A3240LUA 备注 原装正品,最新到货
A3240LUA 技术资料(点击型号PDF文档下载)
A3240LUA 相关型号
A3240LUA 报价
询价热线:
0755-83283733, 83031813,33062500
QQ:623069669
MSN:sumzi003@sumzi.com sumzi006@sumzi.com
Email:sumzi@sumzi.com
The A3240-- Hall-effect switch is an extremely temperature-stable
and stress-resistant sensor especially suited for operation over extended
temperature ranges to +150°C. Superior high-temperature performance
is made possible through dynamic offset cancellation, which reduces the
residual offset voltage normally caused by device overmolding, temperature
dependencies, and thermal stress.
The device includes on a single silicon chip a voltage regulator,
Hall-voltage generator, small-signal amplifier, chopper stabilization,
Schmitt trigger, and a short-circuit protected open-collector output to
sink up to 25 mA. A south pole of sufficient strength will turn the
output on. An on-board regulator permits operation with supply voltages
of 4.2 to 24 volts.
The first character of the part number suffix determines the device
operating temperature range; suffix ‘E–’ is for -40°C to +85°C and
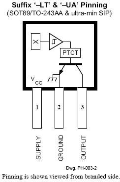
‘L–’ is -40°C to +150°C. Three package styles provide a magnetically
optimized package for most applications. Suffix ‘–LH’ is a modified
SOT23W surface-mount package, ‘–LT’ is a miniature SOT89/TO-
243AA transistor package for surface-mount applications; while suffix
‘–UA’ is a three-lead ultra-mini-SIP for through-hole mounting.
FEATURES
Resistant to Physical Stress
Superior Temperature Stability
Output Short-Circuit Protection
Operation From Unregulated Supply
Reverse Battery Protection
Solid-State Reliability
Small Size

ABSOLUTE MAXIMUM RATINGS
at TA = +25°C
Supply Voltage, VCC ........................ 26.5 V
Reverse Battery Voltage, VRCC .......... -30 V
Magnetic Flux Density, B ........... Unlimited
Output OFF Voltage, VOUT ................. 26 V
Continuous Output Current,
IOUT .......................................... 25 mA*
Reverse Output Current, IOUT ........ -50 mA
Package Power Dissipation, PD. See Graph
Junction Temperature, TJ ............... +165°C
Operating Temperature Range, TA
Suffix ‘E–’ .................. -40°C to +85°C
Suffix ‘L–’ ................ -40°C to +150°C
Storage Temperature Range,
TS .............................. -65°C to +170°C
ALLEGRO 相关型号: A3952SB A8904SLPTR-T A1104LUA-T UGL3132UA A1321ELHLT-T A1101ELHLT-T UGN3132UA A8483EEKTR-T A8904SLBTR-T A3260ELHLT A2982SLW A3967SLW-T A1104LU-T QMV902BH5 ATS665LSGTN-T A6801SLW-T A3953SB A3953SLBT A1323LUA A8450KLB-T A6276ELW-T A1212LUA-T ACS712ELC-05B A3281LUA-T A3280LUA-TreplaceA88L) ALL06ELHLT-T A3144ELHT A3214ELHLT L6219DS A3986SLDTR-T A1101LUA-T UGS3060KA UGN3503UA UGN3503U UGN3132UA UDN2982LW-T UDN2981A-T UDN2981A UDN2916LBTR-TUDN2916LBTR UDN2916B-T UDN2916B UDN2878W UDN2595A UDN2543BUCN5818AF UCN5812AF UCN5821A(停产) UCN5812AF UCN5810EPF
UCN5804LBreplaced by A3977/A3967 UCN5801A L6219DSTR ATS674LSETN ATS665LSG ATS612LSB ATS611LSB
ACS750LCA-075 ACS712ELC-30A ACS712ELC-20A ACS712ELC-05A ACS706ELC-05CACS704ELC-015 A8904SLB A8430EEKTR-T A6275SLWTR A5348CA A3983SLP-T A3980KLP-T A3979SLP-T A3977SLP A3977SEDTR-TA3977SEDA3973SLBTR-T A3972SB-T A3972SB A3968SLB-T A3967SLBTR-T A3967SLBTR A3966SLBTR-T A3966SLBTR A3959SB replaced A3952A3955SLBTR-T A3955SLB A3955SB-T A3936SED-T A3936SED A3932SEQA3517SUA A3515EUA A3425LL-T A3425LK-T A3422LKA-T A3290XUAA3281LLTTR A3281LLT A3281LLHLT-T A3280LUA(replaceA88L) A3280LLTTRA3280LLHLT-T A3280LLHLT A3280EUA A3280ELHLT A3245LLHLT-TA3245ELHLT-T A3240LUA-T A3240LUA A3240LLHLT-T A3240EUA-TA3240ELHLT A3213EUA-T A3213EUA A3213ELHLT-T A3212ELHLTA3212EEHLT-T A3212EEH A3210ELHT(replacement by A3212 and A3213)A3210ELHLT A3187LUA-T A3187LLTTR-T A3172XUA
A3144LU replaced by A1104 A3144EU-T replaced by A1104
A3144EUA-T replaced by A1104 A3144EUA replaced by A1104
A3144EU replaced by A1104 A3144ELT replaced by A1104
A3142LUA replaced by A1101 A3142LLT A3141LUA(replaced by A1101) A3141LUA A3141EUA A3141EU A3121LU A3121ELT A3056LU A3046LUA1321LUA-T A1321LLHLT-T A1302UA A1302EUA-T A1302EUA A1106EUA-T A1106ELHLT-T A1104EU-T A1104EUA-T A1102LUA-TA1102LLTTR-T A1102LLHLT-T A1101LUA (replace A3141LUA) A1101LLHLT-TA1101EU-T A1101EUA-T A11011LLHLT-T A3955SB SKHMPSE010 AO4606AP5200 7C256-15JC 7C256-12JC ACS712ELCTR-05B-T ACS712ELCLU-05C-TA3977SLP-T A3212EUA-T
上一篇:齿轮传感 TLE4921-5U 现货热卖 报价0755-33062501 2025-12-11
下一篇:MIP551/MIP552 LED Drive Circuit PDF 2025-12-11

收藏本站
当前位置:






