解决方案

\ Solution

热卖产品

当前位置:首页 > 解决方案 > 热卖产品 > 详情

A1101EUA 原装现货 热卖中 报价0755-33062501-801陈玲

发布时间:2009-04-10 浏览:3777次

A1101EUA-T 型号
ALLEGRO品牌系列产品 A1101EUA-T
A1101EUA-T 批号 08+
A1101EUA-T 数量 6000
A1101EUA-T 封装 3-pin SIP
A1101EUA-T 包装 500PCS/BAG
A1101EUA-T 备注 original/IN STOCK
A1101EUA-T
PDF技术资料
A1101EUA-T 询价

A3141, A3142, A3143, A3144   datasheet.pdf
Sensitive Hall-Effect Switches, High-Temperature

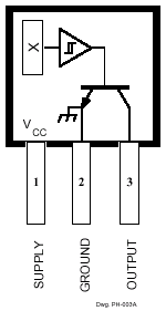
Pin-Out or Package

The A3141, A3142, A3143, and A3144 have been phased out of production as of October 31, 2005, and has been replaced by the A1101, A1102, A1103, and A1104 next-generation continuous-time unipolar switches.

For samples and information on the replacement part, please refer to the A110x family.

Replacement Device Characteristics Table

Device A110x Characteristics
BOP BRP Hys
Legacy Replacement Min Max Min Max Min Max
A3141 A1101 30 175 10 145 20 80
A3142 A1102 115 245 60 190 30 80
A3143 A1103 205 355 150 300 30 80
A3144 A1104 35 450 25 430 20 -
A3121 A1106 260 430 160 330 70 140

Features

  • Superior Temp. Stability for Automotive or Industrial Applications
  • 4.5 V to 24 V Operation ... Needs Only An Unregulated Supply
  • Open-Collector 25 mA Output ... Compatible with Digital Logic
  • Reverse Battery Protection
  • Activate with Small, Commercially Available Permanent Magnets
  • Solid-State Reliability
  • Small Size
  • Resistant to Physical Stress

Description

These Hall-effect switches are monolithic integrated circuits with tighter magnetic specifications, designed to operate continuously over extended temperatures to +150°C, and are more stable with both temperature and supply voltage changes. The unipolar switching characteristic makes these devices ideal for use with a simple bar or rod magnet. The four basic devices (3141, 3142, 3143, and 3144) are identical except for magnetic switch points.

Each device includes a voltage regulator for operation with supply voltages of 4.5 to 24 volts, reverse-battery protection diode, quadratic Hall-voltage generator, temperature compensation circuitry, small- signal amplifier, Schmitt trigger, and an open-collector output to sink up to 25 mA. With suitable output pull up, they can be used with bipolar or CMOS logic circuits. The A3141- and A3142- are improved replacements for the UGN/UGS3140-; the A3144- is the improved replacement for the UGN/UGS3120-.

Functional Block Diagram

Functional Block Diagram

  Complete Part Numbers

Part Number Package Type Temperature Comments
A3141ELT  3-lead SOT  -40 °C to  85 °C discontinued   
A3141ELTTR  3-lead SOT  -40 °C to  85 °C discontinued   
A3141EUA  3-pin SIP  -40 °C to  85 °C discontinued   
A3141LLT  3-lead SOT  -40 °C to  150 °C discontinued   
A3141LLTTR  3-lead SOT  -40 °C to  150 °C discontinued   
A3141LUA  3-pin SIP  -40 °C to  150 °C discontinued   
A3142ELT  3-lead SOT  -40 °C to  85 °C discontinued   
A3142ELTTR  3-lead SOT  -40 °C to  85 °C discontinued   
A3142EUA  3-pin SIP  -40 °C to  85 °C discontinued   
A3142LLT  3-lead SOT  -40 °C to  150 °C discontinued   
A3142LLTTR  3-lead SOT  -40 °C to  150 °C discontinued   
A3142LUA  3-pin SIP  -40 °C to  150 °C discontinued   
A3143ELT  3-lead SOT  -40 °C to  85 °C discontinued   
A3143ELTTR  3-lead SOT  -40 °C to  85 °C discontinued   
A3143EUA  3-pin SIP  -40 °C to  85 °C discontinued   
A3143LLT  3-lead SOT  -40 °C to  150 °C discontinued   
A3143LLTTR  3-lead SOT  -40 °C to  150 °C discontinued   
A3143LUA  3-pin SIP  -40 °C to  150 °C discontinued   
A3144ELT  3-lead SOT  -40 °C to  85 °C discontinued   
A3144ELTTR  3-lead SOT  -40 °C to  85 °C discontinued   
A3144EUA  3-pin SIP  -40 °C to  85 °C discontinued   
A3144LLT  3-lead SOT  -40 °C to  150 °C discontinued   
A3144LLTTR  3-lead SOT  -40 °C to  150 °C discontinued   
A3144LUA  3-pin SIP  -40 °C to  150 °C discontinued   

询价热线:

0755-83283733, 83031813,33062500

QQ:623069669

MSN:sumzi003@sumzi.com  sumzi006@sumzi.com

Email:sumzi@sumzi.com 

http://www.sumzi.com

 
 
案例中心|产品中心|解决方案|新闻资讯|合作伙伴|技术支持|联系我们
Copyright © 2002-2025 深圳响拇指电子科技有限公司 版权所有 粤ICP备11091659号 0755-83031813