A3901SEJTR-T
发布时间:2009-04-10 浏览:4410次
A3901SEJTR-T 详细介绍A3901SEJTR-T 型号ALLEGRO 品牌系列产品 A3901SEJTR-T A3901SEJTR-T 批号 08+ A3901SEJTR-T 数量 3000 A3901SEJTR-T 封装 10-lead MLP A3901SEJTR-T 包装 1500/盘 A3901SEJTR-T 备注 in stock2000pcs A3901SEJTR-T PDF技术资料欢迎下载资料 A3901SEJTR-T 询价 | |
A3901
双路全桥式低电压电动机驱动器
特点
- 低 RDS(on) 输出
- 全步进与半步进能力
- 小型封装
- 用于直流电动机的正转、反转和制动模式
- 零耗电的睡眠模式
- 最大达 250 千赫的 PWM 控制
- 交叉电流保护
- 过热关机功能 (TSD)
描述
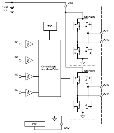
A3901 是一种全桥式电动机驱动器,用于有关双极步进或电刷直流电动机的低压便携应用。 该输出最适用于低压骤降的情况,电流最大可达 ±400 毫安(相当于 ±800 毫安的并行输出),操作电压范围为 2.5 到 5.5 伏特。
(IN1 到 IN4)四种输入能够控制全步进与半步进模式下的双极步进电动机,或正转、反转和制动模式中的直流电动机。 可将输入脉宽调制 (PWM) 为频率达 250 千赫的电流或速度控制。
内部保护电路拥有过热关机 (TSD) 和交叉(击穿)保护功能。
A3901 封装在标有 3 x 3 x 0.75 毫米的十引脚 MLP 封装内,带有外露热传导垫片("EJ"封装)。 该小型封装为无铅产品,且引脚框采用 100% 雾锡电镀。
功能方框图
询价热线:
0755-83283733, 83031813,33062500
QQ:623069669
MSN:sumzi003@sumzi.com sumzi006@sumzi.com
Email:sumzi@sumzi.com
http://www.sumzi.com
上一篇:A3964SLB-T原装现货.欢迎下载资料 2025-12-11
下一篇:A3955SB-T 直插封装,深圳现货,欢迎上门看货 2025-12-11

收藏本站
当前位置:






