A1101--原装现货热卖!!
A3141, A3142, A3143, A3144
Sensitive Hall-Effect Switches, High-Temperature
A1101 型号
A1101 应用
ALLEGRO 品牌系列产品
A1101 批号
A1101 数量 大量现货
A1101 封装
A1101 包装
A1101 价格
A1101 备注 原装正品,无铅现货
A1101 PDF技术资料
A1101 相关型号
The A3141, A3142, A3143, and A3144 have been phased out of production as of October 31, 2005, and has been replaced by the A1101, A1102, A1103, and A1104 next-generation continuous-time unipolar switches.
For samples and information on the replacement part, please refer to the A110x family.
Replacement Device Characteristics Table
| Device | A110x Characteristics | ||||||
|---|---|---|---|---|---|---|---|
| BOP | BRP | Hys | |||||
| Legacy | Replacement | Min | Max | Min | Max | Min | Max |
| A3141 | A1101 | 30 | 175 | 10 | 145 | 20 | 80 |
| A3142 | A1102 | 115 | 245 | 60 | 190 | 30 | 80 |
| A3143 | A1103 | 205 | 355 | 150 | 300 | 30 | 80 |
| A3144 | A1104 | 35 | 450 | 25 | 430 | 20 | - |
| A3121 | A1106 | 260 | 430 | 160 | 330 | 70 | 140 |
Features
- Superior Temp. Stability for Automotive or Industrial Applications
- 4.5 V to 24 V Operation ... Needs Only An Unregulated Supply
- Open-Collector 25 mA Output ... Compatible with Digital Logic
- Reverse Battery Protection
- Activate with Small, Commercially Available Permanent Magnets
- Solid-State Reliability
- Small Size
- Resistant to Physical Stress
Description
These Hall-effect switches are monolithic integrated circuits with tighter magnetic specifications, designed to operate continuously over extended temperatures to +150°C, and are more stable with both temperature and supply voltage changes. The unipolar switching characteristic makes these devices ideal for use with a simple bar or rod magnet. The four basic devices (3141, 3142, 3143, and 3144) are identical except for magnetic switch points.
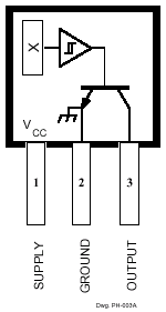
Each device includes a voltage regulator for operation with supply voltages of 4.5 to 24 volts, reverse-battery protection diode, quadratic Hall-voltage generator, temperature compensation circuitry, small- signal amplifier, Schmitt trigger, and an open-collector output to sink up to 25 mA. With suitable output pull up, they can be used with bipolar or CMOS logic circuits. The A3141- and A3142- are improved replacements for the UGN/UGS3140-; the A3144- is the improved replacement for the UGN/UGS3120-.
Functional Block Diagram
Complete Part Numbers
|
Part Number |
Package Type |
Temperature |
Comments |
|
A3141ELT |
3-lead SOT |
-40 °C to 85 °C |
discontinued |
|
A3141ELTTR |
3-lead SOT |
-40 °C to 85 °C |
discontinued |
|
A3141EUA |
3-pin SIP |
-40 °C to 85 °C |
discontinued |
|
A3141LLT |
3-lead SOT |
-40 °C to 150 °C |
discontinued |
|
A3141LLTTR |
3-lead SOT |
-40 °C to 150 °C |
discontinued |
|
A3141LUA |
3-pin SIP |
-40 °C to 150 °C |
discontinued |
|
A3142ELT |
3-lead SOT |
-40 °C to 85 °C |
discontinued |
|
A3142ELTTR |
3-lead SOT |
-40 °C to 85 °C |
discontinued |
|
A3142EUA |
3-pin SIP |
-40 °C to 85 °C |
discontinued |
|
A3142LLT |
3-lead SOT |
-40 °C to 150 °C |
discontinued |
|
A3142LLTTR |
3-lead SOT |
-40 °C to 150 °C |
discontinued |
|
A3142LUA |
3-pin SIP |
-40 °C to 150 °C |
discontinued |
|
A3143ELT |
3-lead SOT |
-40 °C to 85 °C |
discontinued |
|
A3143ELTTR |
3-lead SOT |
-40 °C to 85 °C |
discontinued |
|
A3143EUA |
3-pin SIP |
-40 °C to 85 °C |
discontinued |
|
A3143LLT |
3-lead SOT |
-40 °C to 150 °C |
discontinued |
|
A3143LLTTR |
3-lead SOT |
-40 °C to 150 °C |
discontinued |
|
A3143LUA |
3-pin SIP |
-40 °C to 150 °C |
discontinued |
|
A3144ELT |
3-lead SOT |
-40 °C to 85 °C |
discontinued |
|
A3144ELTTR |
3-lead SOT |
-40 °C to 85 °C |
discontinued |
|
A3144EUA |
3-pin SIP |
-40 °C to 85 °C |
discontinued |
|
A3144LLT |
3-lead SOT |
-40 °C to 150 °C |
discontinued |
|
A3144LLTTR |
3-lead SOT |
-40 °C to 150 °C |
discontinued |
|
A3144LUA |
3-pin SIP |
-40 °C to 150 °C |
discontinued |
询价热线:
0755-83283733, 83031813,33062500
QQ:623069669
MSN:sumzi003@sumzi.com sumzi006@sumzi.com
Email:sumzi@sumzi.com
http://www.sumzi.com
上一篇:新到现货 A1106 提供报价及技术参数下载 详情欢迎致电:0755-83031813 2025-12-08
下一篇:SS543AT 技术资料查询 2025-12-08

收藏本站
当前位置:






