- 产品概述
- 技术参数
- 功能框图
- 数据表
产品概述:
随着科学技术的发展,红外热成象仪在军事和民用中已日益被人们重视,尤其是在海湾战争中充分显示了红外热成象仪的重大作用。行扫描电机是红外热成象仪中的关键部件之一,它类同于外转子结构的陀螺电机,其主要区别是转子为一多面体棱镜。棱镜的功能是接收并反射被测物的红外光,经光学组合和电子信号处理实现热成象仪中行扫描功能。2 行扫描电机技术特点
高精度多面体棱镜;高转速稳定度;高效率低功耗;高精度的支承系统;要适应苛刻的环境条件;高可靠性、长寿命。
3 电机类别的选择
磁滞同步电动机、无刷直流永磁电动机均是选择对象,但前者存在一些固有的缺点,难以满足行扫描电机的特殊要求。反电势控制无刷直流永磁电机具有结构紧凑、效率高、转速稳定等优点而被采用。根据不同的需要也可采用带位置传感器的永磁无刷直流电机。
4 结构形式及支承系统的选择
多面体棱镜、支承系统、定子转子之间的组合形式对确定整个扫描器的动态性能非常关键,本文对这一问题作一些专门讨论。
4.1 多面体棱镜与电机转子融为一体
为了适应武器装备的实际应用,不仅要求行扫描电机结构紧凑,而且要适应恶劣环境条件。行扫描电机采用外转子结构,将多面体棱镜与电机转子融为一体,定子在其内部,实现多面体棱镜与电机同轴安装,形成完全对称结构。
实际使用证明,这种结构形式具有如下优点:结构紧凑、体积小、重量轻;提高了固有频率;能够承受强冲击和强振动扫描;能够承受大负载,对于要求体积大的多面体棱镜,这种结构最为理想。
需要指出,这种结构形式不是唯一的,对于透射式多面体棱镜这种结构不可取,它一般采用内转子电机,多面体棱镜与电机旋转轴联接,实现扫描功能。
4.2 轴承的选择和要求
对行扫描电机而言,对轴承及支承系统的要求与惯性级陀螺仪表对轴承要求几乎一致,主要要求如下:轴承的摩擦力矩要小且稳定;定位精度高;承载能力大;低噪音长寿命;润滑介质不污染光学零件。
在国外,大多采用滚珠轴承,也有采用静压气体轴承和动压气体轴承。气体轴承的最大特点就是运行中无摩擦,实际上就是无噪音启动,力矩波动极小。这种轴承能承受高速运转能力,具有极好的自旋轴稳定性和可利用的润滑剂—周围气体,这种润滑剂不会变坏,也不会污染光学器件。
由于受一些因素的制约,我所研制的行扫描电机仍使用滚珠轴承,该轴承为专门研制的向心推力精密轴承,其保持架用多孔的酚醛类材料制成,它既起保持滚珠的相对位置作用,又是一个贮油器。
润滑油的选用很关键,对轴承的性能、寿命、转速稳定性、摩擦力矩、耐热、耐寒、挥发、噪音、防锈都有很大影响。扫描电机选用润滑方式为一次性油润滑。需要注意硅酮油的面积张力比较低,易从贮油器内溢出,造成对镜面和其它光学装置的污染。脂润滑也不可取。保持架采用真空浸油,然后用离心法除去多余的油,一般保持架中只允许有3mg的油,试验证明,SR27和SR28两种油低温适应性好,且不污染光学器件。
滚珠轴承的承载能力是在加预载和转子负载的情况下由接触元件的弹性变形产生的。当轴承极其精密时,轴承零件上就会产生真正的弹性动态油膜分离层,这种油膜由轴承几何形状和润滑油相结合而产生的,它能使轴承在有隔膜的情况下运行,这对轴承寿命、噪音、力矩都十分有利,对轴承所有零件进行全面质量控制以造出超精密轴承,对高精度扫描电机极为重要。在国外,轴承零件的公差通常小于可见光的一个波长。
4.3 支承系统的设计
轴承自身质量固然重要,由轴承及其相关的零件构成的支承系统也极为重要。行扫描电机在热成象仪扫描器中安装大都是吊装或倾斜安装,电机主轴只是一端固定,另一端悬空,因此设计支承系统要充分考虑这一特点。
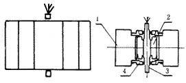
支承系统的设计一般有两种,一种是两个轴承分配在多面体棱镜的两端。如图1所示。另一种是两轴承置于多面体棱镜一端,与内外轴承套构成轴承对,支承转子旋转。如图2所示。
1. 多面体棱镜;2, 定子;3. 轴;4. 轴承。
图 1 轴承对称安装行扫描电机示意图
1. 轴承;2. 多面体棱镜;3. 定子;4.轴。
图 2 预负载轴承对在行扫描电机中应用示意图
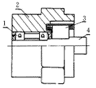
前一种结构两个轴承通过两个端盖与多面体棱镜结合,两轴承安装孔同心度不易保证,另外两轴承未能构成刚性结合,承载能力较小,两方面的缺陷使得综合光学误差不能做到高精度。对于高精度的行扫描电机,其支承系统采用预负载轴承对比较理想。预负载轴承对有两种安装方式,图3a为两个向心推力轴承背对背安装,图3b为两个向心推力轴承面对面安装。比较3a和3b,两轴承背对背安装时两轴承间有效跨度大,刚性高,有利于减少驱动轴摆动。
(a)
(b)
图 3 预负载轴承对
图2就是采用背对背安装的预负载轴承对,这个轴承对安装于多面体棱镜一端的通孔内,在结构上确保两轴承安装孔的同心度的要求,保证多面体棱镜的旋转轴线与驱动轴轴线一致,同时采用内外轴套使轴承定位加预负载,这样不仅使行扫描电机综合光学精度提高,而且增加轴承刚度。图1结构的行扫描电机综合光学误差为±40 s,抗冲击能力40g,而图2结构的行扫描电机综合光学误差为±20 s,抗冲击能达100g,明显提高了热成象仪的精度和环境适应性。
4.4 安装工艺
对购买来的轴承最好在动力计上进行检测,挑选质量好的轴承,然后按刚度和接触角配对使用。对所制造的零部件也需进行计量,这是组装扫描电机的前提。
然而,即便有足够精度的零部件并不一定能够保证组装出的扫描电机能满足系统要求。比如支承系统,其性能不只由零部件的几何精度决定,整个支承系统装配时的技术和细心甚至比零部件本身还重要。
为了保证旋转轴的稳定性,轴和轴承内环配合以及轴承座和轴外环配合要进行研磨以保证其精度。内、外环与轴和孔的配合太紧易造成轴承变形,太松易造成旋转轴不对中。
在组装中零件误差将使光学扫描轴与旋转轴不平行,这一不平行误差是一个矢量,可以通过选择性地转动个别零件相位有所改变。在实际装配中也可以通过相对于光轴沿径向调节轴承的外环使光轴与旋转轴趋于重合。这一方法可以明显降低综合光学误差。
清洗是装配中的一项重要工作,滚珠轴承装配的清洁度不低于动压气体轴承对清洁度的要求。滚珠轴承的清洁度不仅影响轴承的寿命,更重要的是影响摩擦力矩的平稳性。轴承在运行中摩擦力矩的变化将直接影响多面体棱镜瞬时转速的稳定度。对轴承零件及相关的零件要严格进行超声波清洗,甚至还要进行真空清洁处理,并要在显微镜下仔细检查。组装好的电机,开始时是在大气中运行的,要避免镜面受灰尘的污染,一粒灰尘在几个小时内可以使镜面受到侵蚀。扫描电机工作应在密封的氦气介质中,一方面使镜面、轴承受到保护,另一方面明显减小风阻力矩,降低功耗。这对整个成像系统极有好处。
5 控制线路原理
反电势控制永磁无刷直流电机用于行扫描系统是比较理想的选择。这种电机的突出优点是转速稳定度高,可达几十万分之一,同时比其它电机效率高。
反电势控制永磁无刷直流电机是利用电机自身的反电势作为位置信号来控制电机驱动线路并产生电磁转矩,使电机加速运行至同步并锁定到要求的转速上。该控制电路具有工作可靠、转速平稳、过载能力强、功耗小及优良的启动性能,采用锁相控制,将电机转速牢牢地锁在石英晶体振荡器的频率上,由于石英晶体震荡器的稳定度和精度相当高,充分保证了电机转速的稳定度,采用脉冲调宽,电机同步工作时电流最小而转矩最大使电机效率最高,这些性能对行扫描系统是非常有利的。
为了电机结构紧凑可靠,减少引线,电机启动电路不采用位置传感器,而是采用反电势过零信号来确定转子与定子的相对位置。通电后强迫电机定位,使之处于最佳启动位置后,再给绕组提供信号,使电机启动,电机一旦启动,立即产生反电势信号,该信号经过处理后与标准脉冲信号进行比较,比较的结果去控制功放管的导通与截止。当开始启动时,电机转速低于额定转速即反馈信号的频率低于基准信号的频率,此时鉴相器输出一个高电平,使导通角增大,加速电机启动;当电机转速超过额定转速即反馈信号频率高于基准信号频率,此时鉴相器输出低电平,完全切断电机绕组供电;只有当电机转速为额定转速即反馈信号的频率与基准信号频率相等时,鉴相器输出二者相位差,把转速锁定在同步转速上。原理方框图见图4所示。反电势控制两相永磁无刷直流行扫描电机的控制线路着重解决两个问题:一个是启动可靠,启动时不允许有死点;另一个是在+55°~-40°范围内工作正常满足技术要求。
图 4 控制线路原理方框图
6 电机设计特点
反电势控制永磁无刷直流电机用于行扫描电机是一种比较理想的方案,该种电机的理论分析设计计算已有不少文章阐述,本文不再重述。这里只对我们设计的行扫描电机用的无刷直流电机的几项特点作简要介绍。
6.1 无铁芯定子
在结构、光学等其它条件允许的情况下,采用无铁芯定子结构最为理想,完全消除铁损可使电机效率达到90%以上。对于转速高、负载力矩大(多面体棱镜体积大)、连续工作时间长的行扫描电机应优先选择无铁芯定子结构。
6.2 定子无槽
在无法实现无铁芯定子结构时,其定子铁芯最好采用无槽结构。定子铁芯是一个表面光整的圆柱体,电枢绕组贴在定子铁芯表面上,经整形、封胶成活。结构的引入能够有效地减少有槽无刷电机的力矩波动,并且有很高的定位力矩,这对反电势控制的无刷电机控制线路设计有利,对提高转速稳定度也有好处。由于高性能稀土永磁磁钢—NdFeB的出现,给无槽定子结构带来了方便。
6.3 定子铁芯采用铁氧体
由于铁氧体饱和磁密比较低,加之烧结成形,一般电机不用它作为铁芯。无槽定子为选用铁氧体创造了条件。采用高饱和磁密铁氧体加之合理的磁路设计,行扫描电机采用铁氧体作为定子铁芯收到明显效果。同样的电机分别用铁氧体和DG41矽钢片作定子,前者的同步工作电流比后者工作电流下降25%,功率减少1.5W左右,电机效率达到85%以上。
7 测试
7.1 综合光学误差
综合光学误差通常指电机组装成后,每个光学平面与旋转轴的平行差值。普通的检测方法是利用激光器检测每个面反射光点是否重合,其差值不应大于1毫弧度,这个方法用于粗检。粗检合格后再用基准值经纬仪进行检测,综合光学误差≤±30s。
7.2 动态抖晃
动态抖晃表示相对于转轴时各镜面法线夹角的变化,造成这种变化的原因有:多面体棱镜各面间的角差、镜面的平面度、电机转速的不稳定,因此动态抖晃是个综合误差。
通常测量方法是用记忆示波器,将各面的反射光信号变为电信号PR与一个标准的电信号PD进行比较,给出两者的最大值,允许差值为0.2μs。见图5。
图 5 动态抖晃曲线
7.3 转矩测量
利用反作用力矩测试仪测出轴承摩擦力矩和风阻力矩的实际值,辅之电机输入功率的测量,可以计算出电机效率,验证电机设计是否合理,同时可以检测出轴承摩擦力矩的变化值,以判定轴承自身质量和装配质量。
除此之外,还可以利用控制线路中反电势整形后的方波信号检测轴承摩擦力矩变化大小,如果该信号后沿变化幅度大证明轴承摩擦力矩变化大。此法虽然测不出力矩变化值,但也可以相对判断轴承装配好坏。摩擦力矩的不规则变化直接影响转子动态抖晃,必须严加控制。

收藏本站
当前位置:



简要描述:
打印当前页
免费咨询:0755-83031813
发邮件给我们:sumzi@sumzi.com















