产品概述:
|
器件 |
A130x 特性 |
| 典型灵敏度 |
工作电压 |
| 原器件 |
替代器件 |
最小值 |
最大值 |
| - |
A1301 |
2.5 mV/G |
4.5 V |
6 V |
| UGN3503 |
A1302 |
1.3 mV/G |
4.5 V |
6 V |
A1302EUA-T响拇指优势库存!!欢迎来电咨询洽谈。

功能及优点
- 低噪音输出
- 快速上电
- 成比例轨对轨输出
- 4.5 V 至 6.0V 操作
- 高可靠性
- 下线出厂编程,具有最佳性能
- 可靠的 ESD 性能
描述
A1301 和 A1302 是连续型比例式线性霍尔效应传感器 IC。这些传感器已经优化,可精确提供与所适用磁场成比例的电压输出。这些器件具有等于电源电压 50% 的静态输出电压。提供两种输出灵敏度选择:适用于 A1301 的 2.5 mV/G 及适用于 A1302 的 1.3 mV/G。
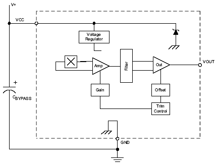
每个器件中的霍尔效应集成电路包括霍尔感测元件、线性放大器和 CMOS A 类输出结构。将霍尔感测元件和放大器集成在单个芯片上,可将通常与低电压水平模拟信号相关联的很多问题减到最少。
该产品在制造过程中已在下线时进行内部增益和偏置修正调整,可实现高精度的输出水平。
这些功能使 A1301 和 A1302 在线性目标移动和旋转目标移动的位置检测系统中成为首选。它们非常适合于温度范围较宽( -40°C 至 125°C )的工业应用。
提供两种器件封装类型:LH,供表面安装使用的 3 引脚 SOT23W 型封装;以及 UA,供过孔安装使用的 3 引脚超小型 SIP所有封装均为无铅版本(后缀,T),引脚框采用100% 雾锡电镀。
功能方框图
响拇指报价热线:
0755-33062501,83031813,83283733, 33062500 QQ:623069669
MSN:sumzi002@sumzi.com sumzi003@sumzi.com sumzi006@sumzi.com
Email:sumzi@sumzi.com
http://www.sumzi.com