产品中心

\ Products

霍尔IC

ATS682

简要描述:

打印当前页

免费咨询:0755-83031813

发邮件给我们:sumzi@sumzi.com

分享到:

产品概述:

ATS682微型、双线式真零速差分峰值侦测传感器 IC

特点

  • 真零速操作
  • 用于气隙独立开关点的自动增益控制 (AGC)
  • 用于信号处理优化的自动偏置调整 (AOA)
  • 用于连续优化的运行模式校准
  • 在工作温度范围内准确的工作循环
  • 可双线式操作的内部电流稳压器
  • 欠压锁定
  • 在各种复杂的负荷阻抗的情况下具有较宽的工作电压范围和稳定性的芯片稳压器
  • 可实现高可靠性的单芯片 IC

描述

ATS682LSH 是霍尔效应集成电路与稀土磁铁的组合,可为双线式应用的真零速数字齿轮齿感测提供用户友好型解决方案。该小型封装具有经优化的双线式引脚框,可以很方便地组装并使用在不同形状及大小的齿轮上。

该集成电路将双元件霍尔效应电路与信号处理相结合,可响应铁氧体齿轮齿产生的差分磁性信号而进行开关操作。该电路包含复杂的数字电路,可减少磁铁和系统的偏置、校准气隙独立开关点的增益并提供真零速操作。

器件通过偏置和增益调整重新上电时即可优化信号,并在使用运行模式校准机制工作期间保持信号优化。运行模式校准可消除感测目标在启动或气隙突然变化时的微振荡等环境影响。

可调节的电流输出可为双线式接口电路配置,并非常适合获得轮转速应用中的速度信息。霍尔元件间距专为高分辨率、小直径目标优化。无铅封装,采用 100% 雾锡电镀引脚框。

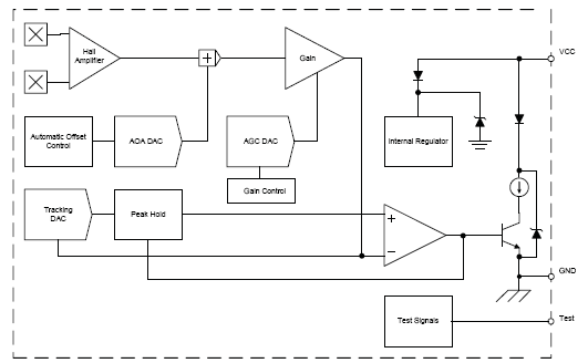
功能方框图

功能方框图

ATS682LSHTN-T

    4-pin SIP

-40 °C to  150 °C

 

Copyright © 2002-2026 深圳响拇指电子科技有限公司 版权所有 粤ICP备11091659号 0755-83031813