产品中心

\ Products

霍尔IC

A1391、A1392、A1393、A1395

简要描述:

打印当前页

免费咨询:0755-83031813

发邮件给我们:sumzi@sumzi.com

分享到:

产品概述:

A1391、A1392、A1393、A1395 带三态输出和用户可选休眠方式的
微功率 3  V 线性霍尔效应传感器 IC

功能及优点

  • 休眠方式中的高阻抗输出
  • 兼容 2.5 至 3.5 V 电源
  • 10有源模式中  mW 功率消耗
  • 微型 MLP 封装
  • 与比例式电源参考电压(VREF 引脚)成比例的输出范围
  • 温度稳定的静止输出电压和灵敏度
  • 较宽的环境温度范围:–20°C 到 85°C
  • ESD 保护超过 3 kV
  • 高可靠性
  • 最后测试时预设灵敏度和偏移

描述

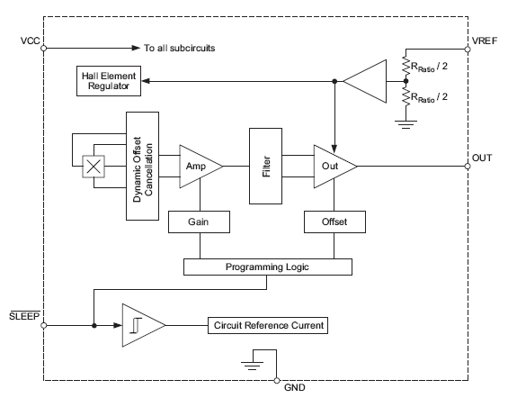
A139x系列线性霍尔效应传感器集成电路 (IC) 提供直接与所适用磁场成比例的电压输出。放大前,典型的霍尔效应 IC 的灵敏度(以 mV/G 为单位)与流经 IC 内部霍尔效应传感器元件的电流直接成比例。在许多应用中,要使霍尔效应传感器 IC 获得充分的灵敏度水平,如果不消耗3 mA以上的电流是很难实现的。A139x 通过添加用户可选择的休眠方式将电流消耗减少至不超过 25 µA。这就使这些器件更适合于电池供电型应用,如:移动电话、数码照相机和便携式工具。最终用户可以通过将逻辑电平信号施加于SLEEP引脚来控制A139x的电流消耗。器件输出在休眠模式中是无效的(高阻抗模式)。高阻抗输出功能允许多个A139x霍尔效应器件与单个交流至直流转换器输入相连接。

根据标称设置,这些器件的静止输出电压是施加到器件 VREF 引脚的比例式电源参考电压的 50%。器件的输出电压与 SUPPLY 引脚的电压不成比例。

尽管A139x中的电路具有低功率消耗,但高精度线性霍尔效应 IC 所要求的各项功能并未因此受到损害。每个器件都具有 BiCMOS 单片电路,该电路集成了已经改进的温度补偿霍尔效应电路,以降低霍尔元件、小型信号高增益放大器和专有动态偏移取消电路所固有的灵敏度漂移。在下线时进行的后封装出厂编程可确保对器件灵敏度和偏移的精确控制。

这些器件采用 2.0 × 3.0 mm, 0.75 mm 标称高度微型引脚小型封装 (MLP/DFN)。该封装无铅,引脚框采用 100% 雾锡电镀。

功能方框图

功能方框图

A1391SEHLT-T 6-lead MLP
-20 °C to  85 °C

A1392SEHLT-T 6-lead MLP
-20 °C to  85 °C

A1393SEHLT-T 6-lead MLP
-20 °C to  85 °C

A1395SEHLT-T 6-lead MLP
-20 °C to  85 °C

Copyright © 2002-2026 深圳响拇指电子科技有限公司 版权所有 粤ICP备11091659号 0755-83031813