产品中心

\ Products

霍尔IC

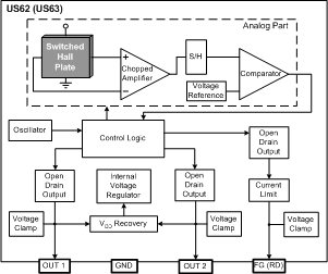
US62 双线圈风扇驱动器(转速计输出)

简要描述:

打印当前页

免费咨询:0755-83031813

发邮件给我们:sumzi@sumzi.com

分享到:

产品概述:

US62是驱动双线圈无刷直流散热风扇的单芯片解决方案。

基于先进的Melexis CMOS 工艺,芯片集成了霍尔传感器,动态失调校正和下桥输出驱动器。

频率发生器开漏输出使其与任何外部接口,例如硬件监视器或者Super I/O芯片的连接更加容易。

这些特性与Melexis的无VDD设计专利技术相结合使其适合小尺寸4引脚的VK封装。
 

 

特点和优点

  • 低成本
  • 高灵敏度霍尔传感器
  • 堵转保护和自动重启
  • 功耗优化的CMOS和功率MOSFET
  • 内嵌输出保护钳位二极管
  • 集成的转速计信号保护输出
  • 采用RoHS 兼容的4引脚VK封装的FG输出双线圈风扇驱动器


Copyright © 2002-2026 深圳响拇指电子科技有限公司 版权所有 粤ICP备11091659号 0755-83031813