A3901 报价及技术资料(附PDF文档)
Update:2007-07-27 Views:13084
A3901
Dual Full Bridge Low Voltage Motor Driver
Sumzi Electronics Co., Ltd
3901.pdf
Features
- Low RDS(on) outputs
- Full- and half-stepping capability
- Small package
- Forward, reverse, and brake modes for dc motors
- Sleep mode with zero current drain
- PWM control up to 250 kHz
- Crossover-current protection
- Thermal shutdown (TSD)
Description
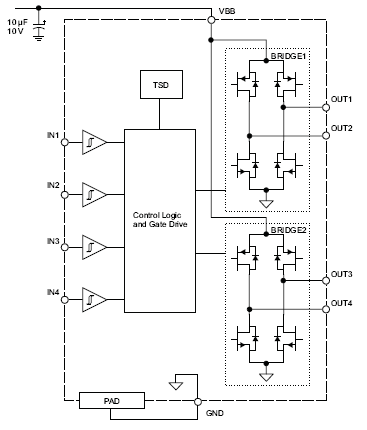
The A3901 is a dual full-bridge motor driver, designed for low voltage portable applications involving bipolar stepper or brush dc motors. The outputs have been optimized for low voltage drop, with currents up to ±400 mA (±800 mA with outputs paralleled) and an operating voltage range of 2.5 to 5.5 V.
The four inputs (IN1 to IN4) can control a bipolar stepper motor in full- or half-step mode, or dc motors in forward, reverse, or brake mode. The inputs can be PWMed for current or speed control at frequencies up to 250 kHz.
Internal protection circuitry includes thermal shut down (TSD) and crossover (shoot-through) protection.
The A3901 is supplied in a 3 x 3 x 0.75 mm nominal, 10-lead MLP package, with exposed thermal pad (package "EJ"). This small footprint package is lead (Pb) free, with 100% matte tin leadframe plating.
Functional Block Diagram
Pre:A3988 报价及技术资料(附PDF文档) 2026-04-18
Next:A3932 技术资料及询价(附PDF文档) 2026-04-18

Collect
Navigate:






