A3932 技术资料及询价(附PDF文档)
Update:2007-07-27 Views:12415
A3932
Three Phase Power MOSFET Controller
Sumzi Electronics Co., Ltd
3932.pdf
Features
- Drives wide range of N-channel MOSFETs
- Synchronous rectification
- Power MOSFET protection
- Adjustable dead time for cross-conduction protection
- 100% duty cycle operation
- Selectable fast or slow current-decay modes
- Internal PWM peak current control
- High-current gate drive
- Motor lead short-to-ground protection
- Internal 5 V regulator
- Brake input
- PWM torque-control input
- Fault-diagnostic output
- Tachometer output
- Thermal shutdown
- Undervoltage protection
Description
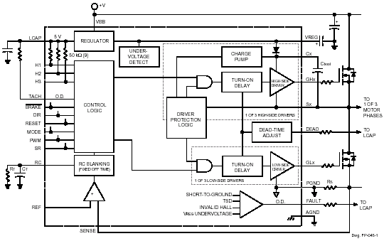
The A3932 is a three-phase MOSFET controller for use with bipolar brushless DC motors. Its high gate-current drive capability allows driving a wide range of N-channel power MOSFETs and can support motor supply voltages to 50 V. Bootstrapped high-side drive blocks provide the floating positive supplies for the gate drive and minimize the component count normally required. The high-side circuitry also employs a unique FET monitoring circuit that ensures the gate voltages are at the proper levels before turn-on and during the ON cycle.
Internal fixed off-time PWM current-control circuitry can be used to regulate the maximum load current to a desired value. The peak load-current limit is set by the user’s selection of an input reference voltage and external sensing resistor. The fixed off-time pulse duration is set by a user-selected external RC timing network. For added flexibility, the PWM input can be used to provide speed/torque control, allowing the internal current control circuit to set the maximum current limit.
Optional synchronous rectification is included. This feature will short out the current path through the power MOSFET reverse body diodes during the PWM off-cycle current decay. This can minimize power dissipation in the power MOSFET, eliminate the need for external power clamp diodes, and potentially allow more economical choices for the MOSFET application.
The A3932 includes the commutation logic for Hall sensors configured for 120 degree spacing. Power MOSFET protection features include bootstrap capacitor charging current monitor, undervoltage monitor, motor-lead short-to-ground, and thermal shutdown.
The ‘–S–’ part-number suffix indicates an operating temperature range of -20°C to +85°C. The ‘–LD–’ suffix indicates a 38-lead TSSOP package. The ‘–EQ–’ suffix indicates a 32-lead rectangular plastic chip carrier (PLCC). The initial ‘–TR–’ variant suffix indicates tape and reel packing. The ‘–T’ final variant suffix indicates lead (Pb) free composition, with 100% matte tin leadframe plating.
Functional Block Diagram
| Part Number | Package Type | RoHS | Temperature |
| Compliant | |||
| A3932SEQ | 32-lead PLCC | No | -20 °C to 85 °C |
| A3932SEQ-T | 32-lead PLCC | Yes | -20 °C to 85 °C |
| A3932SEQTR | 32-lead PLCC | No | -20 °C to 85 °C |
| A3932SEQTR-T | 32-lead PLCC | Yes | -20 °C to 85 °C |
| A3932SLD-T | 38-lead TSSOP | Yes | -20 °C to 85 °C |
| A3932SLDTR-T | 38-lead TSSOP | Yes | -20 °C to 85 °C |
Pre:A3901 报价及技术资料(附PDF文档) 2026-04-14
Next:A3933 技术资料及报价(附PDF文档) 2026-04-14

Collect
Navigate:






