A3933 技术资料及报价(附PDF文档)
Update:2007-07-27 Views:11457
A3933
Three Phase Power MOSFET Controller
Sumzi Electronics Co., Ltd
3933.pdf
These parts are in production but have been determined to be LAST TIME BUY. This classification indicates that the product is obsolete and notice has been given. Sale of this device is currently restricted to existing customer applications. The device should not be purchased for new design applications because of obsolescence in the near future. Samples are no longer available. For new customers or new applications, contact Allegro Applications at applications@allegromicro.com regarding the use of the A3938 as a replacement.
Features
- Drives External N-Channel FETs
- Intelligent High-Side Gate Drive
- Selectable Coast or Dynamic Brake on Power Down
- Adjustable Dead Time for Cross-Conduction Protection
- Selectable Fast or Slow Current-Decay Modes
- Internal PWM Peak Current Control
- Reset/Coast Input
- 120° Hall Commutation with Internal Pullup
- Internal 5-V Regulator
- Low-Side Synchronous Rectification
- Direction Control
- PWM Speed-Control Input
- Fault-Diagnostic Output
- Under-Voltage Protection
Description
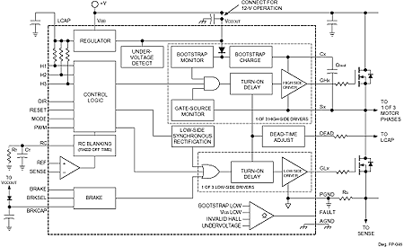
The A3933SEQ is a three-phase MOSFET controller for use with bipolar brushless dc motors. It drives all n-channel external power FETs, allowing system cost savings and minimizing r(DS)on power loss. The high-side drive block is implemented with bootstrap capacitors at each output to provide the floating positive supply for the gate drive. The high-side circuitry also employs a unique "intelligent" FET monitoring circuit that ensures the gate voltages are at the proper levels before turn-on and during the ON cycle. This device is targeted for applications with motor supplies from 12 V to 28 V.
Internal fixed off-time PWM current-control circuitry can be used to regulate the maximum load current to a desired value. The peak load-current limit is set by the user's selection of an input reference voltage and external sensing resistor. The fixed off-time pulse duration is set by a user-selected external RC timing network.
A power-loss braking circuit brakes the motor on an under-voltage condition. The device is configured to either coast or dynamically brake the motor when this occurs.
Functional Block Diagram
| Part Number | Package Type | RoHS | Temperature |
| Compliant | |||
| A3933SEQ | 32-lead PLCC | No | -20 °C to 85 °C |
| A3933SEQTR | 32-lead PLCC | No | -20 °C to 85 °C |
Pre:A3932 技术资料及询价(附PDF文档) 2026-05-08
Next:A3935 技术资料及报价(附PDF文档) 2026-05-08

Collect
Navigate:






