ATS651LSH 技术资料(附PDF文档)
ATS651LSH
Two-Wire Self-Calibrating Differential Speed and Direction Sensor with Vibration Immunity
ATS651LSHTN-T.pdf
Features and Benefits
- Rotational direction detection
- Fully optimized digital differential gear-tooth sensor
- Single-chip sensing IC for high reliability
- Small mechanical size (8 mm diameter × 5.5 mm vertical, flat-to-flat)
- Internal current regulator for 2-wire operation
- Automatic Gain Control (AGC) and reference adjust circuit
- 3-bit factory trimmed for tight pulse width accuracy
- True zero-speed operation
- Wide operating voltage range
- Undervoltage lockout
- Defined power-on state
- ESD and reverse polarity protection
Description
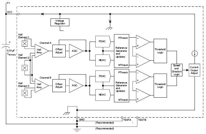
The ATS651LSH is a mechatronics component with an integrated Hall-effect sensor and magnet, providing an easy-to-use solution for speed and direction sensing applications. The solid thermoset molded plastic package contains a samarium cobalt magnet and a Hall-effect IC optimized to the magnetic circuit. This sensor module has been designed specifically for high reliability in the harsh automotive environment. The IC employs patented algorithms for the special operational requirements of transmission applications.
This two-wire device communicates the speed and direction of a ferrous target via a pulse width modulation (PWM) output protocol. The innovative dual differential detector scheme uses three Hall elements and two separate signal processing channels. This provides greater reliability than conventional designs. Because only one of the channels controls switching, the same edge of each tooth is used for determining output signals, in both forward and reverse target rotation, with direction information available on the first magnetic edge after a direction change.
The ATS651LSH is particularly adept at handling vibration without sacrificing maximum air gap capability or creating an erroneous “direction” pulse. Even the higher angular vibration caused by engine cranking is completely rejected by the device. The advanced vibration detection algorithms systematically calibrate the sensor on the true rotation signals from the first three and a half teeth, not on vibration, thus always guaranteeing an accurate signal in running mode.
Patented running mode algorithms also protect against air gap changes, whether or not the target is in motion. Advanced signal processing and innovative algorithms make the ATS651LSH an ideal solution for a wide range of speed and direction sensing needs.
The device package is lead (Pb) free, with 100% matte tin plated leadframe.
Some restrictions may apply to certain types of sales. Contact factory for details.
Functional Block Diagram

Pre:AS5045 技术资料(附PDF文档) 2026-04-18
Next:BUL128 技术资料(附PDF文档) 2026-04-18

Collect
Navigate:






