Products

Hall-IC

ALLEGRO A3932现货热卖!欢迎来电选购!

Description:

print

tel:0755-83031813

email:sumzi@sumzi.com

share to:

Production:

【产品名称】A3932SEQ
【产品封装】PLCC
【产品类别】无刷电机驱动芯片
【生产厂家】ALLEGRO
【产品应用】绣花机、打印机、刻字/雕刻机、生化分析仪、扫描仪、稅票机等
【产品说明】响拇指电子公司代理销售A3932原装正品 详情请来电咨询!

A3932
Three Phase Power MOSFET Controller
Sumzi Electronics Co., Ltd
A3932.PDF

 Pin-Out or Package

Features

  • Drives wide range of N-channel MOSFETs
  • Synchronous rectification
  • Power MOSFET protection
  • Adjustable dead time for cross-conduction protection
  • 100% duty cycle operation
  • Selectable fast or slow current-decay modes
  • Internal PWM peak current control
  • High-current gate drive
  • Motor lead short-to-ground protection
  • Internal 5 V regulator
  • Brake input
  • PWM torque-control input
  • Fault-diagnostic output
  • Tachometer output
  • Thermal shutdown
  • Undervoltage protection
Pb (lead) free

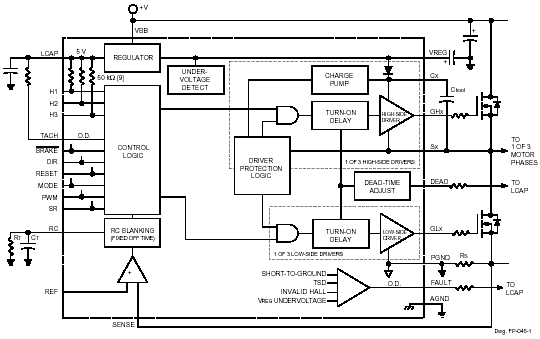
Description

The A3932 is a three-phase MOSFET controller for use with bipolar brushless DC motors. Its high gate-current drive capability allows driving a wide range of N-channel power MOSFETs and can support motor supply voltages to 50 V. Bootstrapped high-side drive blocks provide the floating positive supplies for the gate drive and minimize the component count normally required. The high-side circuitry also employs a unique FET monitoring circuit that ensures the gate voltages are at the proper levels before turn-on and during the ON cycle.
Internal fixed off-time PWM current-control circuitry can be used to regulate the maximum load current to a desired value. The peak load-current limit is set by the user’s selection of an input reference voltage and external sensing resistor. The fixed off-time pulse duration is set by a user-selected external RC timing network. For added flexibility, the PWM input can be used to provide speed/torque control, allowing the internal current control circuit to set the maximum current limit.
Optional synchronous rectification is included. This feature will short out the current path through the power MOSFET reverse body diodes during the PWM off-cycle current decay. This can minimize power dissipation in the power MOSFET, eliminate the need for external power clamp diodes, and potentially allow more economical choices for the MOSFET application.
The A3932 includes the commutation logic for Hall sensors configured for 120 degree spacing. Power MOSFET protection features include bootstrap capacitor charging current monitor, undervoltage monitor, motor-lead short-to-ground, and thermal shutdown.
The ‘–S–’ part-number suffix indicates an operating temperature range of -20°C to +85°C. The ‘–LD–’ suffix indicates a 38-lead TSSOP package. The ‘–EQ–’ suffix indicates a 32-lead rectangular plastic chip carrier (PLCC). The initial ‘–TR–’ variant suffix indicates tape and reel packing. The ‘–T’ final variant suffix indicates lead (Pb) free composition, with 100% matte tin leadframe plating.

Functional Block Diagram

Functional Block Diagram 
Part Number Package Type RoHS Temperature
Compliant
A3932SEQ  32-lead PLCC  No -20 °C to  85 °C
A3932SEQ-T  32-lead PLCC  Yes -20 °C to  85 °C
A3932SEQTR  32-lead PLCC  No -20 °C to  85 °C
A3932SEQTR-T  32-lead PLCC  Yes -20 °C to  85 °C
A3932SLD-T  38-lead TSSOP  Yes -20 °C to  85 °C
A3932SLDTR-T  38-lead TSSOP  Yes -20 °C to  85 °C
 
响拇指报价热线:
0755-83283733, 83031813,33062500
QQ:623069669
MSN:sumzi003@sumzi.com  sumzi006@sumzi.com
Email:sumzi@sumzi.com 
http://www.sumzi.com
Copyright © 2002-2026Copyright @ 2017 Sumzi Electric Technical Co,.Ltd Of SHENZHEN . All rights reserved.No.11091659 for ICP Registration Purpose in Guangdong