Products

Hall-IC

高精度、输出管脚可编程线性霍尔效应传感器A1373EKB-T 响拇指公司热卖

Description:

print

tel:0755-83031813

email:sumzi@sumzi.com

share to:

Production:

ALLEGRO 品牌系列产品 A1373EKB-T
A1373EKB-T 批号 08+
A1373EKB-T 数量 10000
A1373EKB-T 封装
A1373EKB-T 包装
A1373EKB-T 备注
A1373EKB-T PDF技术资料A1373.pdf
A1373EKB-T 询价

Features and Benefits
▪ Output pin programming
▪ Field-programmable for optimal application integration
▪ Selectable coarse and fine gain and quiescent output voltage
▪ Selectable sensitivity temperature coefficient
▪ Selectable output clamp voltage level, including noclamp
(rail-to-rail)
▪ Selectable output polarity
▪ Unipolar or bipolar operation
▪ Ratiometric sensitivity, clamps, and quiescent output voltage
▪ Chopper-stabilized Hall technique
▪ Wide operating temperature range
▪ On-chip regulator for over/under voltage protection
▪ On-chip regulator provides EMI robustness
▪ Wide lead-spacing with KB package

Description
The A1373 and A1374 high precision linear Hall effect sensors
are sensitive, temperature stable, linear devices with externally
programmable features. This device family incorporates a
chopper-stabilized amplifier, voltage regulator, programming
logic, and an output amplifier on a single IC. The patented
dynamic offset cancellation used with a chopper-stabilization
technique provides extremely low offset and minimal
temperature drift. A high frequency clock is used for chopping, to
ensure high frequency signal processing capability. The A1373
and A1374 are ideal for use in automotive and industrial linear
position-sensing applications that require increased reliability
and accuracy over conventional contacting-potentiometer
solutions. Key applications include: throttle position sensors,
pedal position sensors, and suspension height sensors.
The design and manufacturing flexibility of the A1373 and
A1374 complement the Allegro linear Hall effect family of
devices by offering programmable gain, quiescent offset voltage
for unipolar or bipolar operation, temperature coefficient,
clamps, and polarity. The device can be set up in a magnetic
circuit and programmed with a train of serial pulses via the
output pin. Once the right combination of gain, quiescent

A1373 和 A1374
高精度、输出管脚可编程线性霍尔效应传感器

管脚分布

功能及优点

  • 输出引脚编程
  • 现场可编程获得最佳应用集成
  • 可选择粗略和精细增益以及静态输出电压
  • 可选择灵敏度温度系数
  • 可选择输出钳位电压水平,包括无钳位(轨对轨)
  • 可选择输出极性
  • 单极或双极工作
  • 成比例灵敏度、钳位电路和静态输出电压
  • 稳定斩波型霍尔技术
  • 较宽的工作温度范围
  • 芯片稳压器可实现过/欠电压保护
  • 芯片稳压器提供可靠的 EMI 性能
  • 采用 KB 封装,具有较宽的引脚间距

无铅

描述

A1373 和 A1374 高精度线性霍尔效应传感器是带外部编程功能的灵敏、温度稳定的线性器件。 该器件系列在单个 IC 上集成了稳定斩波型放大器、稳压器、编程逻辑和输出放大器。 通过已获专利的动态偏移取消与稳定斩波技术实现极低的偏移和最小的温度漂移。 高频时钟用于斩波,以确保高频信号处理能力。 A1373 和 A1374 是汽车和工业线性位置感测应用的理想之选,因为这些应用与传统接触式分压计解决方案相比要求更高的可靠性和准确性。 主要应用包括: 节流阀位置传感器、踏板位置传感器和悬吊高度传感器。

A1373 和 A1374 具有极高的设计和制造灵活性,可提供可编程增益、适用于单极及双极工作的静止偏移电压、温度系数、钳位电路和极性,从而实现对Allegro 线性霍尔效应器件系列的补充。 该器件可在磁路中设置,并通过输出引脚使用串行脉冲群进行编程。 选定正确的增益、静止输出电压和温度系数组合后,代码可被锁定以完成一次编程。 通过这种方式,可减少制造公差,装配过程也相应简化。

这些器件采用 KB 封装,即 3 引脚 SIP(单列直插式封装)。 该无铅产品具有 100% 雾锡电镀的引脚框。

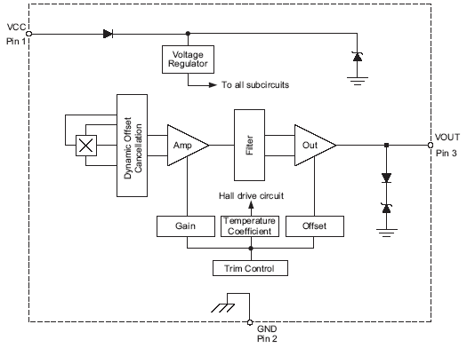
功能方框图

功能方框图 

响拇指报价热线:
0755-83031813,83283733, 33062500 
QQ:623069669
MSN:
sumzi003@sumzi.com  sumzi006@sumzi.com
Email:sumzi@sumzi.com 
http://www.sumzi.com

Copyright © 2002-2026Copyright @ 2017 Sumzi Electric Technical Co,.Ltd Of SHENZHEN . All rights reserved.No.11091659 for ICP Registration Purpose in Guangdong